Содержание к диссертации
Введение
Глава 1. Принцип организации судовой локальнойсети с учетом специфики работы судовых систем .
1.1. Выбор среды передачи информации 12
1.2. Обоснование структурной схемы локальной судовой сети 14
Глава 2. Информационная модель рулевого привода 20
2.1. Методика перехода из предметной области в информационное пространство контролируемой системы 20
2.2. Методика составления матрицы ситуационных кодов и информационной модели систем
Глава 3. Кодирование информации и заполнениеинформационных матриц системы 32
3.1. Разработка способа кодирования информации 32
3.2. Распределение информации по матрицам .
3.3. Пример кодов при типовых нештатных ситуациях 36
Глава 4. Моделирование процесса нештатных ситуаций 39
4.1. Программа мониторинга
4.2. Примеры моделирования нештатных ситуаций .
4.3. Коды нештатных ситуаций .
Заключение 53
Список опубликованных работ по теме диссертации .
Библиографический список
- Обоснование структурной схемы локальной судовой сети
- Методика составления матрицы ситуационных кодов и информационной модели систем
- Распределение информации по матрицам
- Примеры моделирования нештатных ситуаций
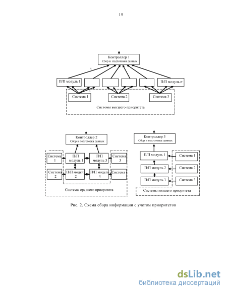
Обоснование структурной схемы локальной судовой сети
Одной из главных проблем в сфере автоматизации управления, а так же сбора и обработки информации от управляемых объектов является – создание оптимальных (с точки зрения надежности и экономичности) средств передачи телеметрической информации.
В этой ситуации возникает вопрос организации каналообразующей части системы, удовлетворяющей всем потребностям системы и головного управления.
Всю систему мы можем охарактеризовать как систему с переменной структурой, так как, при выходе из строя одного из уровней сегментов сети ключевые элементы, разрывают и восстанавливают связи между функциональными элементами системы, изменяя каналы передачи информации и обеспечивая переход от одной структуры к другой.
Первый рассматриваемый вопрос – выбор среды передачи информации. В данном вопросе стоит исходить из природы управляемых объектов, их размещения относительно управляющего центра, и друг друга, поскольку система в большинстве случаев будет являться сложной, с резервирующей структурой. При выборе среды передачи так же необходимо учитывать экономическую и надежностную составляющие. С точки зрения простоты реализации построения системы, первым и самым простым вариантом организации передачи будет являться радиоканал, за счет виртуализации большинства подключений и тривиальной организации системы программными средствами. Однако необходимо иметь в виду, что при определенных условиях взаимного расположения объектов и внешних факторах система из-за нарушения связи может приходить к полному своему распаду, например при внешних электромагнитных наводках, вызванных погодными условиями, либо потери одного из элементов иерархии, т.к. вместе с ним теряется приемо-передающая точка. Кроме того, при удалении объектов, важную роль будет играть мощность передаваемого сигнала и, следовательно, удорожание аппаратной части. Вторым вариантом, в случае большой удаленности объектов друг от друга, будет организация канала связи через питающие линии объектов с помощью высокочастотной связи. Метод достаточно просто реализуется, благодаря существующей линии связи, остается организовать только аппаратную и программную часть приемопередающей и обрабатывающей аппаратуры. Этот вариант так же положительно сказывается на экономической составляющей. Минусом данной системы можно считать то, что вся структура каналов уже организована и всё резервирование будет ограничиваться системой переключений только по существующим силовым подключениям, а при условии возникновения физического обрыва кабеля весь сегмент, не имеющей дублирующего или резервного каналов и находящийся иерархически ниже, будет потерян для оперативного наблюдения и управления.
Третий вариант – организация передачи информации через отдельно организованную кабельную сеть (оптоволоконную, медную и др.). Положительные стороны такой организации – можно провести любые подключения между всеми объектами сети, при этом как непосредственно управляемый с управляющим, так и по средствам других управляемых объектов, что при относительно большом разнесение существенным образом повысит стоимость системы. Вариант является определенно лучшим при небольшом удалении объектов друг от друга, из-за своей меньшей восприимчивости к внешним факторам, относительной гибкости структуры. Однако при расширении масштабов сети увеличиваются затраты на прокладку кабелей, установку дополнительного ретрансляционного оборудования.
Из проведенного анализа можно сделать вывод, что оптимальным может являться выбор комбинации различных сред передачи информации, в зависимости от реализации самих объектов.
Второй немаловажный вопрос – выбор структуры сети. Обоснование структурной схемы локальной судовой сети Для создания системы мониторинга, управляющие и контролирующие ЭВМ (или контроллеры) необходимо объединить в локальную сеть. Типовая схема организации сети, рис. 1, а, не может быть рекомендована, в связи со спецификой функционирования судна – повышенных требований к надежности работы систем для обеспечения жизненной безопасности людей, сохранности и соблюдения сроков доставки груза. Структуру сети организуем с учетом приоритетности судовых систем рис. 1,.б, и рис. 2.
Использование контроллеров позволит часть задач программы мониторинга выполнить средствами контроллера.
Определим три уровня приоритетности систем. Некоторые аналитики предлагают разделять системы контроля и автоматического управления на 4 уровня [47 – 50].
Системы (судовые комплексы) высшего приоритета, к которым выставляются самые жесткие требования на техническое состояние: движительный комплекс (рис. 2, система 1), дизель-генераторная установка (система 2), рулевой привод (система 3). Отсутствие наблюдаемости за объектами систем высшего приоритета может привести к потере управляемости судна, аварийным ситуациям, штрафным санкциям и, как следствие, к экономическим убыткам.
Методика составления матрицы ситуационных кодов и информационной модели систем
Как указывалось выше для каждого контролируемого объекта системы управления по данным МСО(i, j, k) составляется матрица ситуационных кодов – кодов окружения объекта. Анализ изменения данных этих матриц позволит предсказать дальнейшее состояние объекта контроля.
Матрицы ситуационных кодов МСК(i, j, k) объектов – следующий блок информационного пространства. Матрицы составляется для каждого объекта системы мониторинга, и хранят данные о его внешнем окружении – кодах состояний как непосредственно, так и опосредовано с ним связанных объектов.
На первом этапе составления информационных матриц ситуационных кодов объектов системы мониторинга, определим воздействия, непосредственно влияющие на координаты состояния, не указывая вид уравнений связи (математической модели контролируемых объектов), рис. 6. Согласно схеме системы управления, рис. 3, имеем:
Модель связей составим, используя данные рис. 6. В качестве примера, на рис. 7, 8 показаны два варианта модели связи координат состояния объектов ОК1 (Y1) и ОК2 (Y2) с координатами состояния других контролируемых объектов системы управления. Эти модели определяют пути влияния на контролируемый объект других объектов, как непосредственно, так и опосредовано с ним связанных в работе. Пунктиром указаны обратные связи, например, выходная координата третьего объекта Y3 через ОК5 подается на его вход. Из теории автоматического управления известно, что отрицательная обратная связь элемента ослабляют его чувствительность к сигналу по прямому каналу, что может ослабить информационное пространство. При обрыве канала местной или главной обратной связи на управляемый объект (гидравлический двигатель) идет усиленный сигнал и это значительно изменяет показатели работы привода. Этот момент должен учитываться при обработке данных, переданных в базу знаний. Модель связей позволит составить информационную модель объекта управления. В рассматриваемом случае это объект контроля ОК1. Эту модель можно так же назвать информационной моделью системы и представить её в виде функции связи (1).
В информационную модель конкретного объекта попадают измеряемые координаты состояния и внешней среды других объектов контроля, которые имеют на него прямое или опосредованное влияние. Чем более опосредовано влияние, тем более дальнюю позицию занимает координата. Для объекта ОК1, согласно схеме, представленной на рис. 7, получим следующую информационную модель: Ввиду того, что ОК1 является датчиком состояния объекта управления системы привода руля, то эту модель можно считать информационной моделью всей системы привода.
Аналогичные модели могут быть составлены для каждого объекта системы мониторинга и использованы при организации матриц ситуационных кодов объектов МСК(i, j, k). Данные матриц фиксируют (в виде кодов) текущую обстановку на всех взаимосвязанных в работе объектах и отражают состояние среды окружения управляемого объекта. Появление координаты Y1 в правой части функции (1) объясняется наличием обратной связи. Отслеживая изменение кодов матрицы во времени, можно делать прогнозы о развитии ситуаций в системе. Появление недопустимого кода в соответствующей переменной Y1 ячейки матрицы МСК(1, 2, 60) (см. материал главы 3, таблица 8), говорит о том, что возникшая ранее нештатная ситуации в системе начала влиять на работу объекта управления.
Для координаты Y2 рассмотрен второй способ организации модели связей (рис. 8) и записи информационной модели. Принципиального отличия или преимущества одного способа перед другим нет, различие лишь во времени обработки информации.
Такой «вертикальный» способ потока информации позволяет фиксировать состояние объектов 3-х уровней отдаленности и по составленной матрице ситуационных кодов проследить распространение “волны” нештатной ситуации, возникшей на любом отдаление от объекта управления.
Таким образом, функциональная схема системы заменяется схемой информационных потоков, а математическая модель – набором функций связей, типа (1) или (2). Модели системы управления Т а б л и ц а 4 Классическая модель динамики привода (система алгебраических и дифференциальных уравнений) Информационная модель привода (система функций связей) Y0=k0 Y1=k1 F1 Y2dY2/dt=k2 Y4 Y3 if abs(Y2 Y2max then Y2=Y2 sgn(dY2/dt)if abs(Y2 2) then Y2=0)dY3/dt=k3 F3 (Y0 - Y1 - Y5)if abs(Y3 Y3max then Y3= Y3max sgn(dY3/dt)if abs(Y3 Y3min) then Y3=0)Y4=k4 F4Y5=k5 F5 Y3 На основании (1) или (2), для всех объектов системы формируем матрицу ситуационных кодов, в виде МСК(i, j, k) или МСК(i, n, nj, k) .
Заполнение матрицы выполняется аналитическим блоком программы мониторинга после кодировки данных и заполнении этими кодами всех матриц состояний объектов МСО(i, j, k). Методика кодирования данных рассмотрена в главе 3.
Для примера в таблице 5 представлен вид матрицы ситуационных кодов окружения ОК1, составленной по (1), в таблице 6 для ОК2, составленной по (2). На 59 опросе зафиксирована ситуация падения напряжения сети, коды в столбцах Fi упали с 1 до 0, на следующем опросе 60-ои отмечена реакция всех элементов системы, требующих электропитания. Если код окружения не меняется и является «базовым, равным 1», то информация в матрицу может не заноситься.
Как видно из матриц, код состояния (kY2) объекта управления (баллера руля) находится в состоянии 1, т.е. процесс развивается на данный момент нормально, но появились отклонения от нормального развития в других точках системы. На причину этого указывают появившиеся на 59, предыдущем, опросе измененные коды линий Fi – напряжения сети. Если при дальнейших опросах код состояния объекта kY2 сменится с 1 на 0, это говорит о том, что развитие процесса перекладки руля изменился (замедлился) и возможно появление статической ошибки выхода руля на заданный уровень.
Как указывалось в разделе «Актуальность темы», система мониторинга для предсказания возможного пути развития ситуаций должна состоять из двух подсистем. Первая подсистема – опрашивает линии, подготавливает данные и определяет момент, место и распространение нештатной ситуации. Вторая – наиболее ответственная часть системы мониторинга – база знаний. База знаний составляется по результатам тестирования работы контролируемой системы в различных ситуациях и условиях плавания судна. Используя полученные от первой подсистемы коды и собственную информацию, программа работы второй подсистемы определяет возможные последствия от возникшей нештатной ситуации.
В базе знаний хранятся данные, по которым можно оценить точность и быстродействие системы при различных состояниях (отличных от нормативных) объектов контроля и окружающей среды. Кроме числовых данных, в базе (для всех возможных переборов ситуационных кодов окружения контролируемого объекта) должна храниться текстовая информация о возможном направлении развития процесса, и должна быть организована возможность выдавать информационные и рекомендательные сообщения оператору.
Распределение информации по матрицам
Временной код состояния ОК2 держится на уровне 1, но процесс Y2(t) развивается с отклонениями. Фиксируется хаотичное изменение кода состояния линии датчика ОК1 и отклики на линиях Y3, Y5.
Результаты моделирование процесса, подтверждают чувствительность метода оценки появления нештатной ситуации по изменению d2y/dt2. Зависимость уровня перепада d2y/dt2 по отношению к величине e (отклонению d2y/dt2 при штатном протекании процессов) показана на рис.30 Зависимость уровня перепадов ускорения при различных перепадах напряжения сети Проведенный анализ литературных источников не позволил составить перечень и частоту появления неисправностей в электрогидравлическом приводе руля и провести более глубокий анализ возможностей данного метода, несмотря на достаточное количество работ по вопросам улучшения характеристик приводов [107-110]. Работы в основном касаются приводов, обеспечивающих эффективное управление силовыми системами современных маневренных самолетов, беспилотных летательных аппаратов, систем приводов мобильных машин (роботов), приводов радиолокационных антенн слежения,….
Ужесточение технических требований к характеристикам приводов связано с ужесточением требований к безотказности и безопасности работы систем автоматического управления. Повышенные требования предъявляются к точности и надежному перемещение рабочих органов, к способности сохранять управление рулями при появлении локальных отказов в элементах привода и во взаимосвязанных с ним системах; к частотным характеристикам следящего привода в области малых и сверхмалых перемещений выходного вала привода. Решаются вопросы ограничения расхода рабочей жидкости при отсутствии внешней силы и при помогающей нагрузке, повышения энергетической эффективности приводов путем регулирования потребляемой энергии в соответствии с требуемой скоростью движения выходного вала. Так же рассматриваются вопросы повышения надежности электрогидравлических приводов путем упрощения структуры привода и исключения из его состава отказоопасных элементов. повышения стабильности и улучшения динамических характеристик привода при изменении уровня давления подачи рабочей жидкости и понижения её температур. Рассматриваются схемы приводов, которые должны каким-то образом держать под контролем неуправляемые движения выходного вала привода при появлении локальных отказов путем перехода на резервное управление. В данной работе рассматривается методика получения упреждающей информации об отклонении работы блоков системы автоматического управления от штатного режима, что будет способствовать решению задач рассмотренных выше.
В таблице 9 представлены коды ситуаций и коды «свернутые» по правилу аналогичному сворачиванию двоичного кода в десятичный, например: Базовый код 111111111111 1 30 + 1 31 + 1 32 + 1 33 + 1 34 + 1 35 + 1 36 +1 37 + 1 38 + 1 39 + 1 310 + 1 311 = 885 Исходный код можно передавать как числовой так и символьной переменной. В базу знаний можно передавать и числовое значение свернутого кода. С точки зрения объема памяти и временных затрат обрабатывать числовые переменные рациональнее, но при современном уровне вычислительной техники это не играет принципиального значения.
Развитие процесса при плавном падении напряжения. Ситуация является неопределяемой, но имеет отдаленные последствия в виде появления статической ошибки. Развитие процесса при плавном нарастающем до 5 люфте. Ситуация является неопределяемой, но имеет последствия в виде появления чистого запаздывания на изменение задающего сигнала. Развитие процесса при нарушении контакта с датчиком обратной связи Хаотический набор кодов.
Анализ таблицы показывает, что наблюдение непосредственно за состоянием выходного вала электрогидравлического привода является мало информативным. Код его состояния при некоторых ситуациях остается в пределах нормы, несмотря на то, что скорость движения может замедлиться, а точность позиционирования ухудшиться. И только анализ окружения (ситуационный код системы и его временное изменение) может дать полную картину происходящих процессов в системе.
Практически каждая нештатная ситуация, имеет различные наборы ситуационных кодов и, таким образом, является определяемой. Неоднозначная интерпретация ситуаций исключена. 2. Метод чувствителен к малейшим отклонениям развития процесса от штатного. 3. Ситуация временного нарушения протекания процесса и возврата его в исходный режим определяется. 4. Определяются ситуации, когда реакция объекта отсутствует, несмотря на наличие неисправности в системе (нарушение контактов датчиков, обрыв канала обратной связи).
Примеры моделирования нештатных ситуаций
В работе рассмотрена ситуация для минимального количества уровней состояний и, соответственно, кодов: . Нет необходимости вводить большее количество уровней, так как матрицы состояний объектов МСО(i, k, j) хранят всю необходимую информацию, полученную с датчиков за определенный промежуток времени. Задавая диапазон значений k –временной интервал опроса линий, и j – номер столбца (или значение ключа интересующей нас информации, например, d2Y1(t)/dt2), можно количественно отследить изменения в процессе (на линиях).
Код состояния линии (или развития процесса) kY принимается за “1”, т.е. процесс развивается нормально, если значение второй производной замеряемой координаты не выходит за допустимые пределы ± , рис.9. Например, при движении судна по курсу наблюдается плавное движение руля. В этом случае, по данным натурных испытаний (см. гл. 4, рис. 10), ускорение d2Y2/dt2 изменяется в пределах 0.0 - 0.5 о/с2, то есть 2 ±0.5 о/с2. На основании знаний о величинах для каждой контролируемой величины осуществляется кодирование информации следующим алгоритмом. где – экспериментально полученная величина максимального значения углового ускорения контролируемой координаты, когда привод руля находится в рабочем режиме. Для подтверждения возникшей нештатной ситуации можно воспользоваться дополнительной оценкой поведения первой производной, выбирая необходимые данные из матрицы состояния объекта.
Ниже приведен фрагмент данных, полученных при моделировании работы системы. В реальной ситуации это поток данных, поступающих в контроллер от приемопередающих модулей. Частота опроса линий – 20 опросов/с. Рассмотрена ситуация понижения напряжения сети на 5% в момент t =10с. Для t 10с F1(t) = F3 (t) = F4 (t) = F5 (t) = 0.95% F, значение F при нормальной работе питающей сети принято за 1. Как видно из данных приведенных ниже, все вторые производные измеряемых координат отреагировали на возникшую ситуацию, сами измеряемые координаты практически реакции не дали, или отреагировали на уровне шумов.
Использование приемо-передающих модулей, в которых заложена программа опроса датчиков и передача результатов опроса в контроллеры, позволяет опрашивать линии и заполнять матрицы текущих опросов МТО(m) с достаточно высокой частотой. Для реальных систем оптимальная частота опроса датчиков должна устанавливаться экспериментальным путем. В случае отсутствия датчиков скоростей и ускорений соответствующие столбцы с этой информацией заполняются по результатам математических расчетов.
Методика работы с информацией зависит от языка программирования. В данной работе при моделировании процессов использовался BASIC, который не допуcкает работы с ассоциативными массивами (хэш-массивами), в которых сохраняют пары вида «ключ, значение». В этом случае методика работы заключается в следующем. 1-я процедура: программа опроса входных линий порта последовательно опрашивает m входных линий, меняя m от 1 до mmax, и заносит результаты текущего опроса в одномерный массив значений MTO(m). Массив данных содержит m max однотипных переменных, например, МТО(m) = {20.0, 0.5, 0.05, 1.5, …}. Величина m max определяется количеством опрашиваемых линий. При моделировании m max=15.
Этому массиву соответствует массив символьных переменных MTO$(m) – массив имен замеренных координат состояний (или ключей). При полном наборе датчиков будем иметь следующий массив символьных переменных МТО$(m)={t, Y1, dY1dt, d2Y1dt2 , Y2, dY2/dt, d2Y2dt2, Y3, dY3/dt, d2Y3dt2, Y4, dY4/dt, d2Y4dt2, Y5, dY5/dt, d2Y5/dt2, F1, dF1/dt, F3, dF3/dt, F4, F4/dt, F5, dF5/dt}. В языках, допускающих хэш-массивы, при отсутствии каких-либо датчиков массив заголовков не меняется, а соответствующие этим заголовкам ячейки массива данных (значений ключа) остаются пустыми, то есть имеют значения типа NULL (данные отсутствуют). В виду того, что в работе использовался язык программирования Бэйсик, не допускающий данные типа NULL, массив заголовков содержал только имена опрашиваемых линий.
2-я процедура: распределение информации по матрицам, то есть перенос данных из MTO(m) в матрицы состояний объектов МСО(i, k, j), где i – номер контролируемого объекта, k – номер строки текущего значения координат состояния, j – номер столбца массива данных. В эти матрицы заносится полный набор значений координат состояния i-го объекта и рассчитанных в дальнейшем кодов состояния его входных и выходных линий. Матрицы МСО(i, k, j) так же имеют массив символьных переменных – уникальных для каждого объекта имен замеренных и рассчитанных координат и кодов состояния линий – МСО$ (i, k, j) . Например,
Распределение информации по матрицам состояния объектов осуществляется следующим образом: 1. Последовательно (от m=1 до m=mmax) из МТО(m) выбираем данные и запоминаем текущее значение m – номер позиции, из которой взяты данные m = mтек. 2. Из массива заголовков МТО$(m) для m = m выбираем символьную переменную – «имя информации». 3. Последовательно перебираем все номера объектов (от i =1 до i=imax), чьи матрицы подлежат заполнению, и номера заполняемых столбцов (от j = 1 до j = jmax). Сравниваем имена матрицы МСО$ (i, j) с именем элемента МТО$(m ). Ждем совпадения имен. При совпадении имен запоминаем значения индексов i = i , j = j . 4. В матрице МСО(i , kmax, j ) осуществляем сдвиг данных вниз, для того чтобы новую информацию записать в строку с k=kmax.
Вторая часть матриц MCO(i, kmax, j) – «коды состояния линий», с j =13 – 17 заполняется после анализа и кодирования данных всех матриц МСО(i, k, j). 3-я процедура: перенос кодов состояний линий из МСО(i, k, j) в матрицу ситуационных кодов объектов МСК(i, k, j), при первом способе описания системы (глава 2), или в матрицу МСК(i, n, nj, k) при втором, многоуровневом способе. Выбор данных из МСО(i, k, j) так же осуществляем для k = kmax, и j от 13 до jmax. Проверяем совпадение заголовков столбцов МСО(i, kmax, j) и заполняемой ячейки матрицы ситуационных кодов МСК(i, kmax, j)/МСК(i, n, nj, kmax), то есть, проверяем совпадение имен символьных переменных
























