Содержание к диссертации
Введение
ГЛАВА 1 Обзор и анализ проециометрического способа маркшейдерской съемки 11
1.1 Общая характеристика проекциометрического способа маркшейдерской съемки 17
1.2 Обзор и анализ моделей маркшейдерских проекциометров 23
1.3 Анализ современного состояния и перспективы развития сооружения вертикальных шахтных стволов 40
1.4 Обоснование преимущества применения проекциометрического способа маркшейдерской съемки перед другими методами, для обеспечения сооружения вертикальных шахтных стволов с учетом тенденций развития шахтного строительства 45
1.5 Выводы по первой главе 47
ГЛАВА 2 Разработка методических предложений по повышению точеости проекциометрического способа маркшейдерской съемки 49
2.1 Методика проекциометрической съемки для обеспечения сооружения вертикальных шахтных стволов буровыми установками 50
2.2 Методика проекциометрической съемки для обеспечения монтажа и проверки канатной армировки 52
2.3 Сравнительный анализ методик маркшейдерского обеспечения сооружения вертикальных шахтных стволов и монтажа канатной армировки с применением проекциометров 57
2.4 Разработка методики обработки данных, полученных от ориентирования датчика вертикали по циклично-дискретным направлениям 63
2.5 Выводы по второй главе 69
ГЛАВА 3 Разработка методики исследования проекциометрисекого способа маркшейдерской съемки с применением оринтирования датчика вертикали по циклично-дискретным направлениям 70
3.1 Разработка лабораторного испытательного стенда для исследования и отработки методики ориентирования датчика вертикали по циклично-дискретнымнаправлениям 72
ГЛАВА 4 Исследование влияния ориентирования датчика вертикали по циклично-дискретным направлениям на точность проекциометрической съемки 83
4.1 Методика экспериментальных исследований 84
4.2 Анализ результатов экспериментальных исследований 89
Заключение 94
Список литературы 95
- Анализ современного состояния и перспективы развития сооружения вертикальных шахтных стволов
- Обоснование преимущества применения проекциометрического способа маркшейдерской съемки перед другими методами, для обеспечения сооружения вертикальных шахтных стволов с учетом тенденций развития шахтного строительства
- Методика проекциометрической съемки для обеспечения монтажа и проверки канатной армировки
- Анализ результатов экспериментальных исследований
Введение к работе
Актуальность работы. При увеличении глубины разработки
для сохранения и повышения производственной мощности
горнодобывающего предприятия необходимо увеличивать
интенсивность подъема. Существующие подъемы эксплуатируются со скоростью движения скипов до 12-14 м/с и концевой нагрузкой до 60 т. Прогнозируется рост скорости движения подъемных сосудов до 20 м/с, с массой загруженных сосудов до 100т, при этом интенсивность подъема увеличится в 3,5-4,5 раза. Повышение интенсивности подъема обеспечивается за счет применения канатной армировки шахтного ствола.
В Инструкции по производству маркшейдерских работ (РД 07-603-03) установлены допуски на отклонение оси ствола от проектной (допускается не более (50 + 0,15H)мм, где H – глубина ствола в метрах) и на отклонения от вертикали оси системы канатных проводников – 0,0001 длины проводника.
Шахтные отвесы как основное средство маркшейдерского обеспечения сооружения вертикальных стволов при глубинах свыше 400м по надежности, точности и производительности не удовлетворяют требованиям производства (опасность обрыва отвесов; ступенчатость измерений приводит к накоплению ошибок измерений и большим затратам времени на опускание и успокоение отвесов).
Лазерные приборы для указания вертикальных направлений и измерения расстояний могут быть использованы только при благоприятных условиях в неглубоких (200-400 м) и «cлепых» стволах.
Практика показала, что наиболее эффективный контроль вертикальности сооружения стволов глубиной более 1000 метров – с использованием маркшейдерских проекциометров.
Проекциометр – маркшейдерский прибор, позволяющий
определить горизонтальную проекцию оси вращения
крутонаклонного, натянутого между искомой и исходной точками линейного тела по длине тела и показаниям датчика вертикали, закрепленного вблизи исходной точки.
Основные преимущества проекциометров перед другими средствами маркшейдерского обеспечения сооружения шахтных
стволов является: отсутствие необходимости спуска маркшейдера в забой, для проведения съемки; возможность использовать канаты, которыми управляется полок или комбайн, для контроля за вертикальностью сооружения ствола; обеспечение проходки в сложных горно- и гидрогеологических условиях.
Приемочные испытания прошли четыре модификации
проекциометров: ПМ4, ПМ11, ПМ100 и ПМ10. Объединяет их
применение в процессе измерений в качестве гибкого, весомого,
крутонаклонного линейного тела канатов диаметром от 1 до 60 мм,
линейных датчиков вертикали типа микрометрический уровень,
поворотного устройства для закручивания каната с закрепленным на
нем датчиком вертикали. Канаты малого диаметра 1-1,5 мм (тросы)
входят в комплекты проекциометров ПМ4, ПМ11 и ПМ100. Эти
проекциометры называются тросиковыми. При измерениях
проекциометром ПМ10 используется имеющийся в шахтном стволе технологический канат, этот проекциометр называется канатным.
Наибольшей эффективностью и перспективностью обладает канатный проекциометр.
Существующие модели проекциометров по точности
удовлетворяют требованиям РД 07-603-03 на отклонение оси ствола от проектной, но для контроля отклонения от вертикали канатных проводников, требуется разработка методов повышения точности проекциометрического способа маркшейдерской съемки, что является актуальной задачей.
Значительный вклад в исследование проекциометрического способа измерений, разработку проекциометров и методики маркшейдерских работ на основе применения проекциометров внесли такие ученые, как Лебедев В.Б., Платонов Е.Д., Ануфриев Ю.В., Голицын В.В., Рыхлюк Е.И., Королев А.Е. и др.
Цель работы. Повышение точности проекциометрического способа маркшейдерской съемки.
Идея работы. Для повышения точности и достоверности проекциометрического способа маркшейдерской съемки следует применять методику ориентирования датчика вертикали по циклично–дискретным направлениям.
Задачи исследований:
1.Анализ маркшейдерского обеспечения сооружения
вертикальных шахтных стволов.
2. Разработка методики ориентирования датчика вертикали по циклично-дискретным направлениям.
3.Разработка принципиальной схемы лабораторного
испытательного стенда для отработки методики циклично-дискретного ориентирования датчика вертикали.
4.Установление зависимости погрешности определения
координат искомой точки от числа циклично-дискретных направлений.
Методы исследований. Для решения поставленных задач
выполнено макетирование узлов лабораторного испытательного
стенда, проведены исследования методики ориентирования
датчиков вертикали по циклично-дискретным направлениям на действующем макете лабораторного испытательного стенда, использовались положения теории ошибок измерений и методы математической статистики для обработки и обобщения данных.
Научная новизна:
1.Разработан метод сегментации циклично-дискретных
направлений в части технологии обработки результатов измерений,
полученных в процессе проекциометрической съемки с
использованием методики ориентирования датчика вертикали по циклично-дискретным направлениям.
2.Установлено, что погрешность определения координат искомой точки находится в линейной зависимости от числа дискретов в приеме измерений и уменьшается с повышением числа дискретов.
Научные положения, выносимые на защиту:
1.Обработка результатов измерений, полученных в процессе
проекциометрической съемки с использованием методики
ориентирования датчика вертикали по циклично-дискретным направлениям, должна быть выполнена на основе сегментации, то есть разделения циклично–дискретных направлений на группы по признакам построения прямоугольных систем координат, которые получены поворотом исходной системы на угол , при 090, с дальнейшим восстановлением приращения координат определяемой точки из повернутой системы в исходную.
2.Ориентирование датчика вертикали по циклично-дискретным направлениям позволяет снизить погрешность определения координат искомой точки в 2-3 раза за восемь дискретов. Эту
закономерность следует использовать для получения минимум
тройного запаса точности проекциометрического способа
маркшейдерской съемки при контроле отклонения от вертикали канатных проводников.
Достоверность и обоснованность научных положений и
результатов работы подтверждается согласованностью
теоретических исследований с результатами, полученными
экспериментальным исследованием методики ориентирования датчиков вертикали по циклично-дискретным направлениям на действующем макете лабораторного испытательного стенда.
Практическая значимость:
1. Разработан лабораторный испытательный стенд, который
может применяться для отработки методики ориентирования
датчика вертикали по циклично-дискретным направлениям, а также
для проведения поверки маркшейдерских проекциометров.
2. Разработана методика ориентирования датчика вертикали по
циклично–дискретным направлениям, позволяющая повысить
точность проекциометрического способа маркшейдерской съемки.
Апробация работы. Основные положения работы
докладывались и обсуждались на V Международной научно– практической конференции «Инновационные направления в проектировании горнодобывающих предприятий» (г. Санкт– Петербург, Горный университет, май 2014 г.), на VI Международной научно–практической конференции «Инновационные направления в проектировании горнодобывающих предприятий» (г. Санкт– Петербург, Горный университет, май 2015 г.), а также на заседаниях Научного центра геомеханики и проблем горного производства Горного университета (2013–2015 г.).
Личный вклад автора:
– обоснование выбора принципиальной схемы лабораторного испытательного стенда;
– обоснование методики обработки проекциометрической съемки, с применением ориентирования датчика вертикали по циклично – дискретным направлениям;
– апробирование методики ориентирования датчика вертикали по циклично–дискретным направлениям на действующем макете лабораторного испытательного стенда;
– установление аналитических зависимостей погрешности определения координат искомой точки от количества дискретов в приеме измерений.
Публикации. Основные результаты исследований
опубликованы в 3 печатных работах, из них 3 – в изданиях, рекомендуемых ВАК Минобрнауки России.
Структура и объем работы. Диссертация состоит из введения, четырех глав и заключения, содержит 103 страницы, 2 таблицы, 29 рисунков и список литературы из 76 наименований.
Автор выражает благодарность научному руководителю
проректору (директору) НЦГиПГП А.Н. Шабарову, к.т.н.,
заведующему лабораторией маркшейдерских работ НЦГиПГП Г.П.
Жукову, к.т.н., старшему научному сотруднику лаборатории
маркшейдерских работ НЦГиПГП В.Б. Лебедеву, к.т.н., старшему
научному сотруднику лаборатории маркшейдерских работ
НЦГиПГП А.Ф. Кулаковой, старшему научному сотруднику
лаборатории маркшейдерских работ НЦГиПГП М.С. Кону, д.т.н.,
заведующему кафедрой маркшейдерского дела Национального
минерально-сырьевого университета «Горный» В.Н. Гусеву, к.т.н.,
доценту кафедры маркшейдерского дела Национального
минерально-сырьевого университета «Горный» Е.М. Волохову за всестороннюю помощь при подготовке и проведении исследований по теме диссертации.
Анализ современного состояния и перспективы развития сооружения вертикальных шахтных стволов
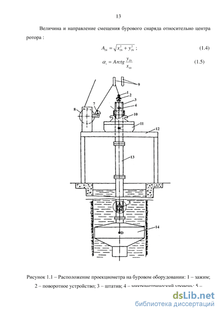
Основной трос проекциометра диаметром 1-1,3 мм и длиной 1000 м размещен на бобине лебедки 1 (рисунок 1.2.2). Лебедка снабжена редуктором с передаточным числом 1:3 и рукояткой 16, которую можно закреплять как на оси редуктора, так и на оси бобины. В нижней части лебедки расположено поворотное устройство, которое закреплено на оголовке штатива становой гайкой.
Лебедка имеет систему роликов: ролик 2 с вилкой для упорядоченной укладки троса на бобину; мерный ролик 15 с отклоняющим 14 и направляющим 13 роликами; ролик 3, принимающий трос с дополнительной лебедки.
При проекциометрических измерениях в стволах глубиной до 1000 м трос с бобины поступает на укладочный ролик 2, с него на отклоняющий ролик 14, затем на мерный ролик 15 и направляющий ролик 13, с которого трос идет в шахтный ствол.
Тормозом вращения бобин основной и дополнительной лебедок служат стопорные устройства Б. Для фиксирования бобины рычаг 5 поворачивают против часовой стрелки до вхождения подпружиненного штока в стопорное отверстие 17. Для растормаживания бобины отжимают головку рычага со штоком и поворачивают рычаг по часовой стрелке. Эти операции выполняют, удерживая рукой рукоятку бобины, предотвращая самопроизвольное ее вращение. Ось мерного ролика 15 связана шестеренками с осью счетчика оборотов СО-35. Во время измерений глубины по счетчику отсчитывают метры и дециметры, а по шкале, нанесенной на ободе ролика, против индекса, закрепленного на корпусе лебедки, сантиметры. Металлический штатив 12 проекциометра имеет 3 трубчатые телескопические ножки, которые во время измерений закрепляют в основание штатива 7. Для вертикальных соединительных съемок и натяжения троса при проекциометрических измерениях в комплект проекциометра введена груз-рейка 9, которая имеет круговую шкалу с ценой деления 1 см и числовые отметки через каждые 45. Масса груз-рейки 9 килограмм.
Передачу высоты удобнее выполнять при установке штатива вне ствола, поэтому в комплект введены два блока 8 и 10. Один блок закрепляют под штативом, второй над стволом. Диаметр блоков 40 мм.
Последним в комплекте, но очень важным устройством является дополнительная лебедка 6, бобина которой содержит два километра троса, что позволяет через любой ствол нашей страны передать отметку и плановые координаты. Редуктор и стопорные устройства дополнительной лебедки такие же как у основной.
При подготовке к измерениям трос 4 дополнительной лебедки пропускают через приемный ролик 3 между щек зажимного устройства на ролик 14, затем на мерный ролик 15 и направляющий ролик 13. Пропустив трос через центральное отверстие поворотного устройства, попадают внутрь штатива, где к концу троса закрепляют груз-рейку. Если штатив установлен вне ствола, то трос пропускают и через блоки 8 и 10. Трос все время удерживают под натяжением, чтобы избежать его скручивания и образования «жучков».
Тросиковые проекциометры ПМ4 и ПМ11 внедрены в трестах Шахтспецстрой, Спецшахтобурение, Гидромонтаж и Союзмаркшетрест (сорок комплектов).
В комплектах проекциометров ПМ4 и ПМ11 много общего: одинаковые лебедки с тросом, одинаковые микрометрические уровни, металлические штативы с раздвижными ножками. Есть и отличия: у ПМ4 штатив может крепиться к торцу буровой колонны с помощью струбцин, у ПМ11 штатив для большей устойчивости снабжен основанием; у ПМ4 трос натягивается грузом с центрирующим устройством, у ПМ11 грузом рейкой. Однако эти отличия не повлияли на методику вертикальных и проекциометрических измерений при соединительных съемках через вертикальные выработки глубиной до 1000 м проекциометром ПМ4.
В 1975г. начаты исследования по применению в качестве линейного тела технологических канатов шахтного ствола (подъемные, проводниковые). В 1983г. разработан и прошел приемочные испытания проекциометр ПМ10 (серебряная медаль ВДНХ). Проекциометр ПМ10 (канатный проекциометр) предназначен для передачи плановых координат X и Y через вертикальные горные выработки, имеющие натянутый технологический канат (подъемный, проводниковый, отбойный, несущий и т. п.) Кроме того он может быть использован для установки проводниковых и отбойных канатов в вертикальное положение, а также для проверки их вертикальности в период эксплуатации. На проекциометр ПМ10 получено авторское свидетельство № 1041870 [67].
Поворотное устройство, представленное на рисунке 1.2.4, предназначено для закручивания каната вместе с закрепленным на канате датчиком вертикали. Оно содержит червячный редуктор и тиски типа винтовой стяжки.
Редуктор, помещенный в корпус 1, имеет червячное колесо 3 и два червяка 2 и 4, расположенные под прямым углом друг к другу и соединенные между собой коническими зубчатыми колесами 5 и 6. Червяк 2 является ведущим, его наружный конец оформлен граненной головкой, на которую при поворотных операциях одевают торцевой ключ 8.
Обоснование преимущества применения проекциометрического способа маркшейдерской съемки перед другими методами, для обеспечения сооружения вертикальных шахтных стволов с учетом тенденций развития шахтного строительства
Вертикальный шахтный ствол является одной из главнейших вскрывающих и транспортных выработок.
По мере развития горнодобывающей промышленности в России и за рубежом глубина разработки месторождений постоянно растет. В настоящее время глубина отработки запасов в Российском Донбассе перешагнула 1200 м, в Кузбассе – 700 м. На Норильском горно-металлургическом комбинате на руднике «Октябрьский» построено 10 стволов глубиной 800-1200 м, на руднике «Таймырский» – 6 стволов глубиной 1430-1585 м [35]. В ЮАР на шахтах золоторудной промышленности преимущественная глубина стволов составляет 1500-2000 м, а глубина отдельных стволов достигает 2500 м [50]. Скорость движения подъемных сосудов в этих стволах – 18 м/с и более [25]. В ближайшем будущем планируется строительство 60-70 сверхглубоких вертикальных стволов диаметром в свету до 12 м и глубиной до 4000 м [54].
Работы по сооружению ствола в той или иной мере производят во всех периодах проведения строительно-монтажных работ. В подготовительный период строят временные и постоянные здания и сооружения, необходимые для проходки ствола; сооружают устье и технологическую часть ствола; оснащают ствол комплексом проходческого оборудования. В первом основном периоде в состав строительно-монтажных работ при сооружении ствола входят: проходка и крепление ствола; проходка сопряжений с околоствольными, приствольными выработками, подготовка к армированию и армирование ствола. Углубку ствола производят во втором основном периоде строительства [4, 40, 48].
В зависимости от типа постоянных копров устьевую часть проходят на глубину до 8 м открытым котлованом или открытым общим котлованом с устройством фундаментов под башенный копер. Проходку технологического участка ствола производят на глубину, определяемую из условий размещения основного проходческого оборудования: не менее 30 м при совмещенной схеме и погрузочных машинах с механическим вождением; 70 м – при параллельнощитовой схеме [10]. Стволы круглого сечения преимущественно проходят по совмещенной технологической схеме, при которой породу разрушают буровзрывным способом, убирают ее погрузочными машинами, стенки крепят монолитным бетоном с применением призабойной передвижной опалубки и подачей бетона по двум бетонопроводам с земной поверхности. Реже применяют параллельнощитовую схему проходки, еще реже стволы проходят прямоугольного сечения (крепкие устойчивые породы) с креплением деревянной венцовой крепью [15, 53].
Среди специальных способов проходки стволов по объему выполненных работ бурение занимает лидирующее положение [20].
Применение специальных способов связано с необходимостью проходки стволов в массиве горных пород со сложной гидрогеологией. Различают следующие специальные способы проходки стволов: кесонный, опускного колодца, тампонажа пород, замораживания пород, бурения. Первые два способа применяют для проходки стволов неглубокого заложения, преимущественно при строительстве коллекторных или транспортных тоннелей. Вертикальность ствола при этом контролируют отвесами, лазерными проекторами, нивелированием марок, заложенных в нижней части крепи колодца. Тампонаж пород широко используют для подготовки массива водопроницаемых трещиноватых пород к проходке глубоких шахтных стволов на угольных месторождениях. Для этого по скважинам, пробуренным с поверхности или с забоя ствола, нагнетают цементный раствор [43]. Маркшейдерские работы при этом состоят в вынесении скважин с пунктов разбивочной сети или осей ствола, контроле за положением бурового оборудования и в инклинометрической съемке пробуренных скважин.
Для проходки ствола с замораживанием пород с поверхности бурят скважины, закрепляют их обсадными трубами и, нагнетая в них через замораживающие колонки хладоген, охлаждают окружающие их породы. Ствол проходят под защитой ледопородного ограждения с пневмоотбойкой пород и креплением железобетонными или чугунными тюбингами с последующим тампонажем закрепного пространства. Основным видом маркшейдерских работ при этом является инклинометрическая съемка замораживающих скважин [9].
При проходке шахтных стволов буровыми установками механизированы основные технологические процессы – разрушение породы и выдача ее на поверхность, крепление ствола. В зависимости от обводненности и крепости пород стволы проходят установками сплошного или кернового бурения. Буровые установки работают в стволах, заполненных промывочным раствором, который удерживает стенки ствола от обрушения и используется для удаления бурового шлама с забоя и транспортирование его на поверхность. Разрушение породы производится буровым снарядом, оснащенным шарошками. Снаряд опускают в ствол на буровой колонне. В установках роторного бурения вращение снаряду передается буровой колонной от ротора, установленного на поверхности. Буровой снаряд установки реактивно-турбинного бурения приводится во вращение вытекающей из его сопел промывочной жидкостью, нагнетаемой в колонну под большим давлением с поверхности. Стволы крепят чугунными тюбингами или стальными обечайками погружным или секционным способами. Основными видами маркшейдерских работ являются контроль вертикальности бурения проекциометром и звуколокационная съемка породных стенок ствола [12, 64].
Освоение отечественными шахтостроительными компаниями параллельной технологической схемы позволит повысить их конкурентоспособность на рынке за счет большей вариативности при реализации проходческих работ, так как в более благоприятных условиях, как правило, эффективней оказывается параллельная схема, а в сложных – совмещенная [24, 39].
Все более широкое распространение получает комбайновый способ проходки [76]. Специалисты компании «Thyssen Schachtbau» считают, что именно за этой технологией будущее, так как максимальная скорость проходки стволов буровзрывным способом, как правило, ограничивается 4-5 м/сут, что недостаточно при строительстве сверхглубоких стволов, а способ бурения наиболее эффективен при сооружении вертикальных выработок небольшого диаметра малой и средней глубины [75].
В среднесрочной перспективе ожидается применение отечественными компаниями комбайновых способов проходки, дальнейшего роста доли строительства глубоких и сверхглубоких стволов, внедрение прогрессивных параллельных схем проходки [57, 63].
Пройденный и закрепленный ствол оборудуют жесткой армировкой или армировкой с канатными проводниками.
Армировка шахтного ствола является неотъемлемой частью подъемного комплекса и служит для направленного перемещения по стволу подъемных сосудов. Основную функцию выполняют проводники, в качестве которых применяют рельсы, сваренные металлоконструкции Т-образного, коробчатого и другого профиля, а также деревянные брусья. Несущим элементом армировки являются расстрельные блоки, на которые подвешивают звенья проводников [16, 37, 49].
Основным преимуществом жесткой армировки является то, что смещения сосуда при движении по жестким проводникам незначительны, поэтому регламентируемые правилами безопасности зазоры между сосудом и крепью сравнительно небольшие (150—200 мм). Среди ее недостатков могут быть названы: большая металлоемкость; значительная трудность монтажа; переменная жесткость, приводящая к колебательным процессам в системе «сосуд— армировка»; значительное аэродинамическое сопротивление вентиляционной струе; сложность контрольных и ремонтных работ в период эксплуатации. Чтобы уменьшить число недостатков, постоянно ведется поиск новых, более прогрессивных конструкций жестких армировок, среди которых могут быть названы малорасстрельные, консольные, блочные и т. п. [21]
Методика проекциометрической съемки для обеспечения монтажа и проверки канатной армировки
Ось системы проводниковых канатов – прямая линия, соединяющая центры расположения точек подвеса и точек фиксации канатов подъемного отделения.
К геометрическим параметрам канатной армировки относятся: ширина колеи направляющих устройств подъемного сосуда S в и S н; ширина колеи S", S " и длина L канатных проводников; расстояние между осями вспомогательных проводников и осями проводниковых канатов.
Ширина колеи направляющих устройств – расстояние между осями двух направляющих устройств подъемного сосуда. Ширина колеи канатных проводников – расстояние между осями двух проводниковых канатов. Длиной канатного проводника L называется расстояние между точками подвеса и фиксации проводника. Величины геометрических параметров определяются проектом. При определении их фактических значений различают ширину колеи канатных проводников на горизонте подвеса S" и горизонте фиксации S" , а также ширину колеи верхних Sв и нижних SН направляющих устройств подъемного сосуда.
При маркшейдерском обеспечении монтажа канатной армировки необходимо стремиться, чтобы точки подвеса канатных проводников были строго увязаны с осями подшкивной площадки (при одноканатном подъеме) или осями многоканатной подъемной машины (осью главного вала и осью подъема), проводниковые канаты были вертикальны, а геометрические параметры армировки соответствовали проектным значениям.
Маркшейдерская проверка гибкой армировки, представляющая собой совокупность полевых измерений и камеральных работ, имеет своей целью определение величины отклонений геометрических элементов. Для этого в условной системе координат, в которой за ось абсцисс принята ось подъема, направленная в сторону копровых или отклоняющих шкивов, а за ось ординат – ось главного вала подъемной машины, находят координаты точек подвеса и точек 9фиксирования канатных проводников, а также определяют колеи на сосуде и канатных проводниках, положение жестких направляющих относительно проводниковых канатов.
Полевые измерения включают: съемку удерживающих и направляющих устройств или направляющих канатов на горизонтах закрепления; измерения колеи; передачу координат на горизонт фиксирования; съемку жестких направляющих.
Передачу координат на горизонт фиксирования выполняют с помощью канатного проекциометра ПМ10 [46]. Проекциометрические измерения могут выполняться как на нулевой площадке копра, так и на направляющей раме в зумпфе. Приращения координат нижней точки закрепления троса (каната) относительно верхней находят по формулам (1.1.1, 1.1.2).
По результатам проекциометрических измерений вычисляют координаты точек фиксирования канатных проводников и отбойных канатов и координаты средних точек фиксирования.
По разности координат средней точки фиксирования и средней точки подвеса и расстоянию между ними находят относительное отклонение от вертикального положения оси системы направляющих канатов. Кроме того, зная координаты точек закрепления канатных проводников, нетрудно определить поворот осей подъемного отделения на горизонте фиксирования относительно осей на горизонте подвеса.
Таким образом, маркшейдерская проверка канатной армировки позволяет своевременно выявить отклонения геометрических элементов, которые послужат основанием для анализа причин повышенного износа оборудования и разработки мероприятий по их предотвращению. 2.3 Сравнительный анализ методик маркшейдерского обеспечения сооружения вертикальных шахтных стволов и монтажа канатной армировки с применением проекциометров Рассмотрев две настояще методики, выполним их сравнительный анализ с целью поиска ключевых моментов, за счет которых можно повысить точность измерений. Применение канатного и тросикового проекциометров обусловлено спецификой работ, но для обеспечения сооружения вертикальных шахтных стволов при проходке комбайном и буровзрывным способом целесообразнее применять канатные проекциометры, контролируя отклонение центра ствола по наклону канатов, на которых подвешен комбайн или полок [6]. Это позволяет нам выделить канатный проекциометр в качестве приоритетного для его рассмотрения. Так же точность определения координат искомой точки у канатного проекциометра выше (0,00005H), что удовлетворяет требованиям Инструкции по производству маркшейдерских работ на отклонения от вертикали оси системы канатных проводников (0,0001H), и обеспечивает двойной запас точности измерений. Но для обеспечения надежности измерений, требуется обеспечить минимум тройной запас точности.
Во всех ранее указанных проекциометрах датчиком вертикали является уровень с микрометрической подачей ампулы, которая выставляется вручную с последующим визуальным отсчетом по винту микрометра. Необходимость многократно приводить цилиндрический уровень в горизонтальное положение, осторожно и медленно вращая микрометрический винт приводит к грубым ошибкам при взятии отсчетов по шкалам микрометрического винта от неправильной установки «места нуля». В работе [47] уже отмечалась перспективность применения в качестве датчика вертикали в проекциометре ПМ4М электронного уровня УЭ6, разработанного во ВНИМИ совместно с предприятием СКБ «Вектор» (г. Ижевск). На Ижевском заводе было изготовлено три комплекта уровня УЭ6 (рисунок 2.3.1).
Работа уровня в режиме измерения угла отклонения основана на формировании и обработке сигнала с выхода датчика. Чувствительным элементом датчика является магнитная жидкость, которая помещена в герметичную ампулу с расположенным на ней блоком катушек, содержащим сигнальную, возбуждающие и термокомпенсационные обмотки. При наклоне датчика от первоначального положения ферромагнитная жидкость перетекает из одной половины ампулы в другую, происходит перераспределение магнитных потоков, в результате чего на выходе датчика формируется сигнал, пропорциональный углу отклонения.
Электронный датчик вертикали (рисунок 2.3.2) содержит датчик 4, блок фазочувствительного выпрямителя (ФЧВ) 1 и основание 5. Для крепления датчика на тросе основание имеет два прижима 2, которые закрепляют с помощью винтов 7. Датчик 4 крепится на основании перпендикулярно к е продольной оси. Блок ФЧВ, представляющий собой две закрепленные на стойках платы, помещен на основании с другой стороны. Такое расположение датчика и блока ФЧВ принято с целью обеспечить минимальность возмущающего момента, действующего на датчик.
Анализ результатов экспериментальных исследований
В 1996 году стенд был смонтирован в лестничном пролете восьмиэтажного здания ВНИМИ. Для увеличения глубины рабочего пространства стенда проделаны отверстия в потолочном перекрытии восьмого этажа и в перекрытии подвала, что обеспечило рабочую глубину – 28 м. Над потолочным перекрытием восьмого этажа оборудована площадка для установки испытываемых проекциометров и для закрепления линейного рабочего тела (каната), применяемого для испытания канатных проекциометров. В нижнем рабочем помещении (в подвале) смонтировано двухкоординатное устройство с микрометрическим перемещением (задаваемым) для отклонения троса проекциометра от вертикали. Устройство также предусматривает круговое вращение троса на угол от 0 до 360.
Стенд обеспечивал поверку параметров среднеквадратической погрешности измерения проекциометром отклонения рабочей точки проекциометра от вертикали и погрешности измерения глубины плоскости измерений.
К недостаткам данного стенда можно отнести невозможность испытания канатных проекциометров в силу того, что канат для такого стенда должен иметь длину около 60 м. Размещение такого стенда в здании не представляется возможным, а подходящую шахту проблематично найти. Но с применением электронного датчика вертикали, который может применяться и в канатных проекциометрах, данная модификация стенда остается актуальной.
В настоящее время стенд демонтирован и его восстановление потребует значительных затрат времен и средств. Поэтому опираясь на опыт разработки и эксплуатации стенда во ВНИМИ, предложено разработать лабораторный испытательный стенд, который позволит исследовать и отработать методику ориентирования датчика вертикали по циклично-дискретным направлениям. 3.1 Разработка лабораторного испытательного стенда для исследования и отработки методики ориентирования датчика вертикали по циклично-дискретным направлениям
Лабораторный стенд должен обеспечивать работу датчика в соответствии с реальными условиями, поэтому на основе конструктивных особенностей испытательного стенда закрепленного в ГОСТ Р 51918-2002 обозначим узлы и устройства, которые должны входить в состав лабораторного испытательного стенда: 1. линейное тело; 2. поворотное устройство, которое обеспечит ориентирование датчика по циклично-дискретным направлениям с точностью до 2-3, что соответствует точности оптического визира для грубого ориентирования, которым оснащен датчик; 3. центровочная площадка или устройство отклонения линейного тела от вертикали и приведения его в вертикальное положение. Основным условием, предъявляемым к конструкции лабораторного стенда, является – наличие геометрических элементов (точки, оси, плоскости), соответствующих геометрическим элементам проекциометра [2].
Канатный и тросиковый проекциометры работают по одному принципу, поэтому проанализируем схему тросикового проекциометра с микрометрическим и электронным датчиками вертикали с целью выделить геометрические элементы.
Линейное тело является важным элементом, в тросиковом проекциометре входит в состав аппаратуры, в канатных проекциометрах конструктивно не включено в состав аппаратуры, но принципиально входит в не. Микрометрический датчик вертикали содержит основание и подвижную штангу. Электронный датчик вертикали содержит только основание. Датчики вертикали содержат оптический визир для грубого ориентирования по направлениям. На линейном теле лежат две точки: исходная точка с известными координатами, искомая точка – координаты которой требуется определить. Электронный датчик вертикали содержит электронный уровень. Микрометрический датчик вертикали содержит уровень с микрометрической подачей ампулы.
На основе анализа геометрической схемы проекциометра выделим следующие геометрические элементы (рисунок 3.1.1): – ось вращения линейного тела; – главная ось датчика – ось основания датчика; – ось подвижной штанги – только у микрометрических датчиков; – ось оптического визира; – исходная точка – центр зажимного устройства; – искомая точка – точка линейного тела на горизонте, в котором необходимо определить координаты линейного тела; – продольная ось датчика – ось уровня, вдоль которой происходит определение его наклона.


















