Содержание к диссертации
Введение
1. Функционально - механические свойства сплавов на основе меди, полученных закалкой расплава 8
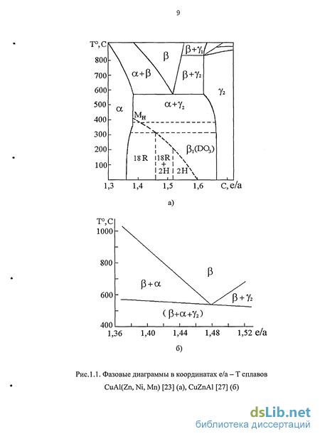
1.1. Мартенситные превращения и эффект памяти формы 8
1.2. Влияние термообработки на мартенситное превращение и ЭПФ в сплавах на основе меди, полученных закалкой расплава 14
1.3. Эффект обратимой памяти формы 20
1.4. Влияние технологических факторов на геометрию и качество лент, получаемых методом ВЗР 22
1.5.Постановка задачи 30
2. Материалы и методы исследований 33
2.1. Приготовление сплавов 33
2.2.Методика получения лент спиннингованием расплава 37
2.3. Определение характеристических температур мартенситного превращения измерением электросопротивления 41
2.4. Установка для исследования функционально-механических свойств тонкомерных лент с ЭПФ в условиях изгиба 45
2.5. Испытания на растяжение 50
2.6. Электронно-микроскопический, микрорентгеноспектральный, рентгеноструктурный и оптический анализ 51
3. Технологические особенности получения лент из сплавов на основе меди 54
3.1. Влияние технологических режимов спиннингования на геометрию и качество поверхности лент из сплавов на основе меди 54
3.2. Оптимизация технологического процесса получения лент методом закалки расплава 68
3.3. Особенности микроструктуры сплавов на основе меди, полученных закалкой расплава 74
4. Влияние термообработки на характеристики мартенситного превращения в лентах медных сплавов 86
4.1. Влияние отжига на характеристики мартенситного превращения 86
4.2. Влияние старения на мартенситное превращение и эффект памяти формы 96
4.3. Обратимый эффект памяти формы в лентах 114
4.4 Применение тонкомерных лент в качестве рабочих элементов в оптических процессорах 137
Основные результаты и выводы 145
Литература 147
- Влияние термообработки на мартенситное превращение и ЭПФ в сплавах на основе меди, полученных закалкой расплава
- Определение характеристических температур мартенситного превращения измерением электросопротивления
- Оптимизация технологического процесса получения лент методом закалки расплава
- Влияние старения на мартенситное превращение и эффект памяти формы
Введение к работе
Известно, что материалы, испытывающие мартенситное превращение (МП), обладают рядом свойств, необычных для металлических сплавов - эффектом памяти формы (ЭПФ), сверхупругостью, повышенной демпфирующей способностью. Интерес к таким материалам обусловлен тем, что изучение особенностей МП способствует выявлению закономерностей фазовых превращений и расширяет фундаментальные представления о свойствах вещества и природе явлений, наблюдаемых в твердых телах.
В настоящее время исследовано большое число систем, сплавы которых проявляют эффект памяти формы [28, 58, 72]. В связи с этим такие материалы находят все более широкое применение в технике, поскольку они позволяют решать очень сложные инженерные задачи в приборостроении, криогенной технике, судостроении, космической технике, медицине и пр. Сфера применения этих материалов стремительно расширяется в связи с разработкой новых сплавов и значительным прогрессом в технологии их производства.
Среди большого числа сплавов с ЭПФ особое место занимают сплавы на
основе меди. Их отличает хорошая способность к восстановлению значитель
ных по величине деформаций (є > 8%), высокая коррозионная стойкость, отно-
« сительная дешевизна компонентов. Такие сплавы обладают высокой теплопро-
водностью и, как следствие, быстрым реагированием на изменение температуры. Изучению мартенситных превращений в сплавах этого типа посвящено много работ. Достаточно хорошо изучены структуры матричных и мартенситных фаз [16, 23, 49]. Описано влияние различных видов термомеханической обработки (ТМО) на структуру сплавов и характер протекания мартенситных реакций [8, 34, 35, 56].
Однако вышесказанное, в большей степени, относится к массивным материалам. В настоящее время требования миниатюризации, экономичности и быстродействия устройств на основе подобных сплавов приводят к необходимости создания и исследования тонкомерных материалов с ЭПФ в виде лент.
Здесь нашли достойное применение тонкие ленты из сплавов на основе нике-лида титана, а тонкомерные ленты из медных сплавов используются сравнительно мало. Причиной этому является слабая изученность их функциональных свойств, ввиду отсутствия специальных установок и методик исследования. В связи с этим изучение функциональных характеристик таких материалов является весьма актуальным как с точки зрения научной значимости, так и для целей практического использования.
Одним из перспективных методов получения тонкомерных материалов в виде лент является спиннингование расплава на металлическом диске. Этот метод прост, экономичен и достаточно производителен. С его помощью можно получать сплавы с ЭПФ в виде длинных лент различной ширины и толщины.
Несмотря на то, что реальные предпосылки целенаправленного использования таких материалов в технике уже существуют, некоторые вопросы остаются еще открытыми. Мало изучено влияние технологических факторов на геометрию и качество получаемых лент, отсутствуют сведения о влиянии различного вида термообработок на функциональные свойства и их стабильность как при термоциклировании, так и в процессе старения. Именно эти факты явились поводом для исследования функциональных свойств медных сплавов, полученных спиннингованием расплава.
Результаты таких исследований помогут расширить представление о природе кристаллообразования в материалах, полученных закалкой расплава, и прогнозировать стабильность их функциональных свойств.
Диссертация состоит из введения, четырех глав с обсуждениями полученных результатов, основных выводов и списка литературы.
В первой главе рассмотрены особенности фазовых превращений в сплавах на основе меди. Проанализированы сведения, касающиеся функциональных свойств тонкомерных лент. Представлены литературные данные по влиянию состава и термической обработки на температуры и последовательность фазовых превращений в тонкомерных лентах. Отмечаются особенности проявления функциональных свойств в зависимости от размера зерна и скорости охлажде-
ния. Обсуждаются работы, посвященные изучению эффектов пластичности превращения, а также способов формирования однократно- и многократно-обратимой памяти формы. В заключении сформулированы цель и задачи работы.
Во второй главе представлены методики экспериментальных исследований. Описаны способы приготовления сплавов. Приведены сведения о созданных автором оригинальных установках и методах исследования функционально-механических свойств тонкомерных лент из сплавов с ЭПФ.
В третьей главе обсуждаются результаты экспериментальных исследований влияния технологических режимов спиннингования расплава на геометрию и качество поверхности лент. На основе полученных результатов осуществлена оптимизация процесса спиннингования расплава и выведены уравнения регрессии, характеризующие зависимость толщины ленты от технологических режимов и типа сплава. Выявлены структурные особенности лент по сравнению со сплавами, полученными традиционным способом.
В четвертой главе приведены результаты исследований влияния различных видов термической и термомеханической обработки на функциональные свойства (характеристические температуры и величину ЭПФ) сплавов систем CuZnAl и CuAl(Ni,Mn). Обсуждены вопросы, связанные с влиянием высокотемпературного нагрева и скорости охлаждения (при задании формы), естественного и искусственного старения. Выявлены основные закономерности изменения функциональных свойств в зависимости от видов термомеханической обработки.
Представлены результаты и дается анализ экспериментальных данных по формированию в сплавах эффекта обратимой памяти формы (ОПФ). Обсуждены вопросы влияния степени предварительной деформации, температуры и длительности нагрева в условиях генерации реактивных напряжений (в защемленном состоянии) на величину ОПФ.
На конкретном примере рассмотрена возможность использования тонкомерной ленты в качестве рабочего элемента. Приведена схема пространственно - временного модулятора света (ПВМС), где рабочим элементом является лен-
*
та, обладающая эффектом ОПФ. Показан пример инженерного расчета по выбору технологических режимов формирования ОПФ в заданном деформационном пространстве.
В заключении работы приводятся основные выводы и библиографический список.
На защиту выносятся следующие положения:
Экспериментальные результаты по влиянию состава сплава и технологических параметров спиннингования на геометрию и качество ленты.
Физические представления и особенности структурообразования в процессе спиннингования расплава.
Особенности влияния различных видов обработки на структуру, фазовый состав, характеристические температуры и величину ЭПФ тонкомерных лент, обосновывающие возможность управления их функционально-механическими свойствами.
Закономерности формирования эффекта ОПФ в разгруженном состоянии при различных способах термомеханического воздействия. Роль диффузионных процессов в формировании эффекта ОПФ в условиях генерации реактивных напряжений.
5. Способы и пути использования тонкомерных лент из медных сплавов с ЭПФ в практике.
Влияние термообработки на мартенситное превращение и ЭПФ в сплавах на основе меди, полученных закалкой расплава
Влияние технологических факторов на геометрию и качество лент, получаемых методом ВЗРИз всего многообразия известных к настоящему времени методов ВЗР наибольшее распространение получил метод закалки расплава на поверхности вращающегося металлического диска (метод спиннингования). С его помощью можно получать металлические материалы в виде тонких лент различной ширины [15, 47, 54, 69]. Суть этого метода заключается в следующем (рис. 1.7).
Порция сплава 1 расплавляется в тигле 2 и под давлением Р выталкивается через сопло тигля на поверхность вращающегося закалочного диска 3. В результате контакта расплава с диском происходит его быстрое (105-Ч07 град-с"1) охлаждение и формирование ленты 4, которая отделяется от поверхности диска под действием центробежной силы.
Разработка конкретного технологического процесса получения ленты требуемой геометрии методом закалки расплава определяется конструкцией и режимом работы установки. В данном случае можно выделить следующие регулируемые параметры: давление выталкивающего газа Р; высоту столба расплава Н; ширину щели сопла Ь; зазор между торцом сопла и поверхностью закалочного диска h; угол падения струи расплава на диск а; диаметр диска D; линейную скорость поверхности диска V; чистоту обработки поверхности диска; физические свойства расплава (вязкость, плотность, поверхностное натяжение), зависящие, в свою очередь, от его химического состава и температуры; состав и давление окружающей среды. Как видно, количество технологических параметров большое и поэтому получение качественных лент заданной геометрии представляет собой непростую задачу.
В работах [15, 33, 68, 83, 89, 105] предпринята попытка математического описания процесса спиннингования расплава и нахождения взаимосвязи между технологическими параметрами разливки и геометрическими размерами получаемых лент. В указанных работах расчет основан на условии постоянства расхода материала: количество (объем) расплава, подаваемого на поверхность диска в единицу времени, равно количеству (объему) ленты, получаемой на диске за то же время. Таким образом:где Fj, - площадь поперечного сечения ленты; V- линейная скорость поверхности диска; Fc— площадь поперечного сечения (отверстия) сопла; Vc- скоростьструи расплава на выходе из сопла. Все параметры, входящие в уравнение (1.1) (за исключением Vc), регулируются и могут быть легко подсчитаны. Наибольшую трудность представляет вычисление скорости истечения расплава из сопла.
В работе [83] на основе уравнения Бернулли предлагается выражение для подсчета где Р - давление выталкивающего газа; р - плотность расплава; S - длина капилляра сопла; b - диаметр капилляра сопла; е, f, Р - геометрические факторы сопла, определяемые экспериментально. Слагаемые в уравнении (1.2) учитывают: первое - потери на местное сопротивление (переход тигель - сопло), второе — потери на трение при течении расплава по капилляру сопла, третье — кинетическую энергию расплава.
Используя ряд упрощений, в работе [68] приводятся следующие выражения для определения Vc: где P - давление выталкивающего газа; р - плотность расплава; b - диаметр (ширина) отверстия сопла; о - поверхностное натяжение расплава; є - геометрический фактор сопла, определяемый экспериментально. Как видно, вычисление скорости струи расплава по формулам 1.2-И .4 затруднено, в частности, наличием коэффициентов е, f, b, є, поскольку их величина определяется по результатам многочисленных предварительных экспериментов.
В работе [15], на основе экспериментальных исследований получена зави симость толщины ленты от объемного расхода металла и скорости поверхности диска:где Q - объемный расход металла; V - линейная скорость поверхности диска. В работе [82], исходя из условий идеального охлаждения, приведено выражение для расчета толщины ленты:где t - толщина ленты; v - кинематическая вязкость расплава; V - линейная скорость поверхности диска.
В действительности соотношения 1.5, 1.6 не выполняются строго и могут быть применены только для конкретных условий разливки (определенные значения давления Р, размеры сопла и т.д.).
Известно [83, 89], что при получении широких лент разливку расплава необходимо проводить через щелевое сопло. В результате ширина ленты будет практически равна длине щели сопла. В этом случае, используя простейшее выражение (1.3) для определения Vc и уравнение (1.1) для сопла прямоугольной формы, можно записать следующую зависимость:где D - диаметр закалочного диска, п - частота вращения закалочного диска, b - ширина щели сопла, Р - давление, р - плотность расплава. Из выражения (1.7) следует, что для конкретного сплава при определенных размерах сопла и закалочного диска толщина ленты должна увеличиваться с повышением давления и снижением скорости вращения диска. Этот вывод подтверждается результатами работ [88, 89, 105].
Важную роль при спиннинговании расплава играет область «лужицы», образующейся при контакте струи жидкого металла с поверхностью диска [54, 68, 89], поскольку именно здесь происходит формирование ленты.
Определение характеристических температур мартенситного превращения измерением электросопротивления
Изучение поверхности лент и определение химического состава проводили на оптическом микроскопе МИМ-7 и растровом электронном микроскопе «САМЕВАХ» с приставкой для микрорентгеноспектрального анализа. Количественный анализ химического состава слитков и полученных лент проводили развернутым зондом в десяти точках с площади 100x100 мкм2 с точностью не ниже 0,05 % по массе. Слитки перед анализом помещали в графитовые контейнеры, засыпали графитовой крошкой и отжигали при температуре Т = 850С в течение 4 часов. Окисный слой с поверхности слитков удаляли фрезерованием.
Рентгеноструктурные исследования проводили на рентгеновском дифрак-тометре ДРОН-2.0 с использованием фильтрованного СиКа или СоК« излучения при напряжении 30 кВ, токе 10 тА и при скорости перемещения счетчика 0,5 град/мин. Для исследовании структурного состояния матричной фазы применяли приставку для нагрева (рис.2.10).
Нагрев исследуемого образца 1 осуществляли электропечью, состоящей из ни-хромовой спирали 2, помещенной через керамический изолятор в медный корпус 3. Регулировку температуры обеспечивали автотрансформатором 4, а контроль осуществляли по милливольтметру ML-21 посредством ХА-термопары 5. Точность поддержания температуры в режиме изотермической съемки была не ниже 5С. Для устранения побочных отражений, связанных с воздействием излучения на материал печи, использовали вольфрамовую подложку 6 толщиной 0,5 мм.
Термопару помещали между подложкой и печью, которые закреплялись напредметном столике 7 гониометра ГУР-5 с помощью прижима 8. Индициро-вание рентгенограмм производили с помощью стандартных методик расчета [18, 53].При необходимости кристаллическую структуру фаз исследовали методом микродифракции в трансмиссионном электронном микроскопе JEM-200B при напряжении 150 кВ. Образцы приготавливали из лент путем электрополировки в растворе Н3Р04, насыщенном Сг203, либо в разбавленном 1:1 растворе Н3Р04 при напряжении 10-И 5 В и комнатной температуре.
При металлографических исследованиях микроструктуру выявляли травлением в растворе: 5 г FeCl3, 30 мл НС1, 100 мл НгО, либо в растворе: 10 г (NH4)2S20g, 100 мл Н20. Определение среднего размера зерна проводили в соответствии с ГОСТ 21073.3-75.
Развитие в последние годы техники высоких скоростей при закалке расплава методом спиннингования позволяет получать целый ряд металлов и сплавов в виде тонких лент как в аморфном, так и в микрокристаллическом состояниях. В настоящем разделе на основании литературных данных и собственных экспериментов проведен анализ влияния технологических параметров метода спиннингования на геометрию и качество лент медных сплавов, а также рассмотрены их структурные особенности по сравнению со сплавами, полученными традиционным способом.
Оптимизация технологического процесса получения лент методом закалки расплава
В литературном обзоре показано, что спиннингование расплава является сложным многофакторным процессом. В связи с этим все попытки его математического описания основаны на тех или иных допущениях и носят приближенный характер. В этом случае описание процесса удобнее проводить используя метод планирования эксперимента, базирующийся на идеях математической статистики. Такой подход позволяет при минимальном числе опытов получать математические модели, характеризующие зависимости исследуемых величин от многих переменных факторов.
За параметр оптимизации Y была принята толщина ленты. В предыдущем разделе (п.3.1) было показано, что толщина ленты удовлетворительного качества (I и II категории) может быть аппроксимирована линейной зависи мостью от давления выталкивающего газа Р и от скорости поверхности диска V. Линейность функции Y(V) отмечается и в работах [83, 90, 114]. О характере влияния остальных факторов информация отсутствует. В связи с тем, что давление Р и скорость V играют основную роль в процессе спиннингова-ния расплава при выводе математической модели можно ограничиться линейным приближением, т.е. получить адекватную модель в виде полинома первой степени.
Известно, что при большом числе факторов (более 3-х) проведение полного факторного эксперимента связано с большим числом опытов, значительно превосходящим число коэффициентов линейной модели. В случае линейного приближения число опытов можно сократить в результате использования дроб- ного факторного эксперимента [3, 57].
В качестве модельного материала использовали сплав Cu-14,3Al-5,2Ni. Разливку осуществляли на бронзовый диск, имеющий повышенные твердость поверхности по сравнению с медным и коэффициент теплопроводности (k = 200 Вт/м-град) по сравнению со стальным. На основании экспериментальных результатов (п.3.1) были выбраны следующие факторы, интервалы варьирования и их уровни: Х\ — скорость диска, м/с; Х2 - давление выталкивающего газа,-105 Па; Х3 - зазор сопло - диск, мм; Х4 - ширина щели сопла, мм (табл. 3.1).
Была реализована полуреплика 2" с определяющим контрастом 1=Х]Х2ХзХ4, который позволяет построить план эксперимента с максимальной разрешающей способностью [57]. Здесь х-- кодированное (-1, +1) значение X; фактора. Матрица планирования и результаты опытов представлены в табл.3.2.
Опыты не дублировали. Для определения дисперсии Sy параметра оптимизации было проведено три опыта при нахождении факторов на основных уровнях. Полученные значения параметра оптимизации (ук),его среднее значение (у), отклонения значений параметра оптимизации от егосреднего значения (ук— у) и квадраты этих отклонений приведены в таблицеТаблица 3.2 где N = 8 - число опытов в матрице планирования.Доверительный интервал коэффициентов регрессии определяли из выражения:Табличное значение t-критерия при 5%-ном уровне значимости и числе степеней свободы f = п — 1 = 2 равно 4,3 [94]. После подстановки величины t в выражение 3.3 получаем:Коэффициенты регрессии математической модели определяли по формулам: где yj - значение параметра оптимизации в j - том опыте; N - число опытов (N=8); ху - кодированное значение і -того фактора в j -том опыте.
Влияние старения на мартенситное превращение и эффект памяти формы
Применение тонкомерных лент в качестве рабочих элементовв оптических процессорах Результаты исследований показывают, что тонкомерные ленты, обладая незначительной толщиной и способностью к формоизменению в определенном температурном интервале, могут являться перспективными материалами для производства термочувствительных элементов с широкой возможностью их практического применения в различных областях народного хозяйства.
В частности, ленты могут использоваться для защиты промышленной и продовольственной продукции как от подделок (виноводочная, парфюмерная, лекарственная и пр. продукция), так и от нарушения режимов хранения (мясо, рыба, не допускающие многократного размораживания и замораживания). Здесь можно использовать эффект однократной памяти формы (ЭПФ). В этом случае на ленте производится теснение (выдавливание) даты выпуска продукции или название фирмы-производителя, а сама лента подвергается термообработке для задания памяти формы. Затем ленту, в мартенситном состоянии, необходимо подвергнуть деформированию (прокатке) с целью получения гладкой наружной поверхности. При последующем нагреве выше температуры Ан на ее поверхности ,за счет обратного МП, будут видны знаки , которые были наведены предварительной термообработкой. Ниже рассмотрен вариант применения лент в качестве термочувствительных элементов в оптических процессорах, где используется эффект ОПФ.
В настоящее время показана перспектива применения оптических процессоров (ОП) в различных областях науки и техники: радиолокация, связь, медицина и т.д. [4, 51]. Главным достоинством ОП по сравнению с электронными устройствами является их высокая производительность. Однако практическое использование ОП в значительной мере сдерживаются отсутствием необходимой элементной базы, способной создать конкуренцию существующим электронным устройствам не только по техническим характеристикам, но и по стоимости.
По ряду параметров (величина и равномерность оптического контраста, простота и надежность) существующие устройства не в состоянии решить проблему ввода информации в реальный ОП. В результате оптические методы обработки информации пока не нашли широкого практического применения и находятся на стадии исследований. В связи с этим важной проблемой при разработке ОП является создание устройств управления когерентным излучением. Для решения этой проблемы необходим поиск новых материалов и физических явлений, представляющий и научный, и практический интерес.
Нам известна только одна работа [7], где сделаны первые шаги в создании и исследовании рабочих элементов ОП на основе тонкомерных материалов, обладающих ЭПФ. В этой работе основное внимание уделено разработке устройств управления когерентным излучением: пространственно - временных модуляторов света (ПВМС). В качестве рабочих элементов ПВМС использовались сплавы системы TiNi - TiCu полученные спиннингованием расплава в виде лент с поперечным сечением (0,025-0,05) х (0,5-2) мм2. На рис.4.29 приведена схема фотозатвора, выполняющего роль ПВМС. Здесь управление интенсивностью света, прошедшего через отверстие в подложке 3, осуществляется рабочим элементом 1 (шторкой), изготовленной из ленты, обладающей ЭПФ. Отверстия в плоскости подложки образуют матрицу 5x7 элементов с периодом 3 мм. За счет проведения термообработки каждой шторке задается ОПФ на два положения: свободный конец шторки параллелен плоскости подложки (Т Мк) или перпендикулярен ей (Т Ак). Нагреватель 2 каждой шторки помещается внутри витка последней. Управление ПВМС осуществляется от пульта управления, который вырабатывает электрические импульсы регулируемой амплитуды, длительности и периодом следования.
В исходном ("закрытом") состоянии каждая шторка имеет прямолинейную форму, запрещая прохождение света через отверстие в подложке (рис.4.29а). При подаче управляющего сигнала на нагревательный элемент отдельной шторки в материале последней под действием тепла происходит обратное МП, сопровождающееся деформированием ее свободного конца. В результате шторка открывает отверстие в подложке (шторка принимает "открытое" состояние) и модулируемое излучение беспрепятственно проходит через отверстие в подложке, попадая на приемник (рис.4.29б). Время нахождения шторки в "открытом" состоянии определяется мощностью и длительностью управляющего сигнала. После снятия управляющего сигнала в материале шторки происходит прямое МП. В результате этого шторка самостоятельно деформируется в обратном направлении и вновь принимает "закрытое" состояние. Затем цикл повторяется.
Понятно, что пригодность тех или иных материалов для работы в качестве термочувствительных элементов кроме специальных свойств (ЭПФ, ОПФ) определяется и теплофизическими свойствами. В свою очередь, теплофизиче-ские свойства материалов могут быть оценены через коэффициент температуропроводности %, который вычисляется по формуле:где к - коэффициент теплопроводности; с - теплоемкость; р - плотность. На основании литературных данных [7,55] в таблице 4.4 приведены основные тепло-физические характеристики сплавов системы TiNi - TiCu и сплавов на основе меди.




















