Содержание к диссертации
Введение
Глава 1. Анализ проблем водоотведения, существующих схем и методов очистки сточных вод для хлебопекарного предприятия и постановка задач исследования 11
1.1. Актуальные вопросы водопотребления и водоотведения на хлебопекарном предприятии с кондитерским производством.. 11
1.2. Существующие технологии и процессы очистки сточных вод и их аппаратурное оформление 16
1.3. Технологические особенности электрокоагуляционного метода очистки сточных вод 34
1.4. Пути повышения эффективности процесса электролитической коагуляции 47
1.5. Теоретические аспекты влияния параметров перемешивания сточной воды на коагуляцию ее примесей гидролизующимися коагулянтами 50
1.6. Постановка задач исследования 55
Глава 2. Методические положения исследований 57
2.1. Методические положения исследования процесса отстаивания 57
2.2. Методические положения исследования процессов физико-химической очистки 64
Глава 3. Исследование состава сточных вод хлебопекарного предприятия с кондитерским производством на примере сточных вод оао «смольнинский хлебозавод» 91
3.1. Экспериментальное исследование состава сточных вод 91
3.2. Обсуждение состава и поведения примесей сточных вод в процессах очистки 99
Глава 4. Исследования процессов предварительной очистки сточных вод 121
4.1. Исследование по очистке сточных вод методом отстаивания.. 121
4.2. Исследование по очистке сточных вод методом электрофлотации 131
Глава 5. Исследования по очистке сточных вод кондитерского производства на макетах аппаратов 138
5.1. Общие положения 138
5.2. Определение оптимальных параметров электрокоагуляции сточных вод 139
5.3. Исследование механического перемешивания сточных вод, прошедших электрокоагуляционную обработку 172
5.4. Исследование перемешивания сточных вод, прошедших электрокоагуляционную обработку гидравлическими методами 197
5.5. Исследования по совместному применению электрокоагуля- ционного и электрофлотационного методов очистки 204
Глава 6. Исследование очистки сточных вод кондитерского производства на промышленной установке и рекомендации по ее применению 212
6.1. Описание производственной установки 212
6.2. Исследование процессов очистки сточных вод кондитерского цеха на производственной установке 215
6.3. Предложения по локальной системе очистки сточных вод кондитерского производства хлебозавода 222
Общие выводы 225
Литература 228
Приложения 244
- Существующие технологии и процессы очистки сточных вод и их аппаратурное оформление
- Методические положения исследования процессов физико-химической очистки
- Обсуждение состава и поведения примесей сточных вод в процессах очистки
- Исследование по очистке сточных вод методом электрофлотации
Введение к работе
Актуальность темы. Устойчивое развитие России невозможно без экологизации производств, т.е. без повсеместного внедрения ресурсосберегающих, малоотходных технологий, расширенного использования вторичных ресурсов и снижения поступления отходов в окружающую среду. В настоящее время пищевая индустрия является одной из наиболее динамично развивающихся отраслей промышленности России. Работа предприятий отрасли сопровождается образованием малоопасных отходов, но в большом количестве 45 - 47 млн. т в год [66]. Значительная часть загрязнений содержится в сточных водах предприятий. Это объясняется характером использования воды. Основной объем сточных вод образуется при мойке сырья и оборудования, при гидротранспортировке и после систем охлаждения. Соответственно сточные воды загрязнены в основном остатками сырья, полуфабрикатов, готовой продукции, моющими средствами. Далеко не все действующие предприятия оснащены современными сооружениями очистки сточных вод. В первую очередь это хлебопекарные и кондитерские предприятия, производство на которых до настоящего времени считалось одним из самых экологически безопасных, а нормами технологического проектирования хлебопекарных предприятий предусматривался сброс сточных вод в городскую (местную) канализацию без очистки. Соответственно очистные сооружения, учитывающие специфику состава и образования этих вод, также не разрабатывались, что показывает и анализ литературных данных по этому вопросу. Однако ужесточение требований к сбросам, в особенности в местные канализационные сети, обусловленные принятием Закона об охране окружающей природной среды (19.12.92, 10.01.02), требуют внедрения на этих предприятиях локальных сооружений по очистке сточных вод. Это определяет актуальность исследований по изысканию методов очистки для данной категории промстоков и изучению путей их интенсификации.
Целью диссертационной работы является создание высокоэффективной системы очистки сточных вод кондитерского производства хлебозавода с выделением большой части загрязнений в их естественном виде для утилизации и ее реализации в легкоуправляемых компактных аппаратах.
Для достижения поставленной цели необходимо решить следующие задачи:
изучить состав сточных вод кондитерского производства;
установить целесообразные методы для их предварительной и основной стадии очистки;
выявить направления интенсификации процессов очистки;
создать макеты аппаратов очистки для проведения экспериментальных исследований на модельных растворах сточных вод;
экспериментальным путем установить возможность предварительной очистки сточных вод безреагентными методами;
исследовать в лабораторных условиях физико-химические методы очистки, применяемые для изъятия из сточных вод загрязнений тонкодисперсной и коллоидной степени дисперсности, а также исследовать процессы, позволяющие интенсифицировать очистку;
экспериментальным путем выявить рациональную схему очистки сточных вод;
создать промышленные аппараты очистки для проведения экспериментальных работ на производственных сточных водах и подтвердить установленные лабораторными исследованиями режимы работы аппаратов.
Объектом исследования являются реальные сточные воды кондитерского производства хлебозавода и их модельные растворы, а предметом исследования - процессы гравитационного отстаивания, электрофлотации, электрокоагуляции, процессы механического и гидравлического перемешивания коагулированной воды.
Методы исследования. Экспериментальные исследования процессов очистки проводили классическим методом путем последовательного варьирования каждого параметра, определяющего ход процесса, при неизменных остальных. В работе для решения конкретных задач использован комплекс физико-химических методов исследования: спектрофотометрия, микроскопия, кондук-тометрия, стандартные методы определения качества сточных вод. Математическая обработка экспериментальных данных проведена с использованием пакета прикладной программы Matlab.6.
На защиту выносятся следующие результаты:
фазово-дисперсный и химический состав сточных вод кондитерского производства;
выбор методов очистки и технологии очистки воды в зависимости от состава и природы загрязнений путем проведения теоретического анализа;
опытно-промышленные исследования по предварительной очистке сточных вод методом отстаивания и электрофлотации;
закономерности процесса электрокоагуляционного извлечения загрязнений, присутствующих в сточных водах кондитерского производства в зависимости от рН среды и концентрации в воде моющих средств;
способ интенсификации электрокоагуляционной очистки созданием благоприятных гидродинамических условий протекания коагуляционного процесса путем применения двухстадийного быстрого и медленного механического перемешивания коагулированной воды;
установление связи между параметрами электрокоагуляционной обработки и интенсивностью и продолжительностью последующего перемешивания коагулированной воды;
сравнительные исследования схем очистки сточных вод кондитерского производства с варьированием методов предварительной очистки (отстаивание или отстаивание и электрофлотация) и вторичной очистки после электрокоагуляции (отстаивание или электрофлотация или перемешивание и отстаивание);
- испытания технологии и аппаратов локальной очистки сточных вод кондитерского производства хлебозавода.
Научная значимость результатов состоит в следующем:
установлен фазово-дисперсный и химический состав загрязнений сточных вод кондитерского производства;
получены данные по кинетике отстаивания сточных вод кондитерского производства, необходимые для расчетов сооружений предварительной очистки;
выявлены оптимальные режимные параметры безреагентной предварительной очистки сточных вод для методов отстаивания и электрофлотации;
проведены комплексные исследования электрокоагуляционной очистки сточных вод кондитерского производства и выявлено влияние содержания в них моющих средств, хлоридов, а также рН и материала электродов на коагу-ляционную активность электрогенерированного коагулянта, определены оптимальные технологические параметры электрокоагуляции сточных вод кондитерского производства;
разработан способ повышения степени использования коагуляционной способности электрогенерированного коагулянта, сущность которого заключается в преобразовании структуры хлопьев скоагулированных загрязнений, полученных при электрокоагуляции с помощью интенсивного перемешивания сточной воды после этого процесса;
определены оптимальные технологические параметры двухстадииного механического перемешивания сточной воды, прошедшей электрокоагуляци-онную обработку, при которых повышается глубина очистки и сокращается продолжительность вторичного отстаивания сточных вод;
установлена связь между параметрами электрокоагуляционного процесса и параметрами последующего двухстадииного механического перемешивания сточной воды, при этом выявлена возможность значительного снижения энер-
гетических затрат на проведение электрокоагуляции и процесс очистки в целом, а также расхода материала электродов за счет применения перемешивания.
Практическая значимость работы. Теоретически и экспериментально обоснована рациональная технология очистки сточных вод кондитерского производства хлебозавода, включающая в себя последовательное использование первичного отстаивания, электроагуляции, перемешивания, электрофлотации или вторичного отстаивания. Выявлены оптимальные параметры проведения указанных процессов. Причем разработанный способ повышения эффективности электрокоагуляции путем последующего перемешивания позволяет в 1,7 раза сократить затраты электроэнергии и материала электродов. Разработаны, реализованы в промышленных аппаратах и внедрены в производство на ОАО «Смольнинский хлебозавод» локальные очистные сооружения кондитерского цеха пропускной способностью 1,5 м /ч. Выявлено, что при работе сооружений 70 % органических веществ, содержащихся в сточных водах, выделяются из них в натуральном виде, что позволяет после переработки использовать их в качестве компонента при производстве кормов для животных. Подготовлены рекомендации для проектирования локальных очистных сооружений кондитерских цехов хлебозаводов в виде схемы очистки и технологических регламентов работы составляющих ее сооружений.
Апробация работы. Основные положения диссертационной работы докладывались и обсуждались: на Международной научно-технической конференции «Ресурсы, сберегающие технологии пищевых производств» (СПб., 1998 г.); на 2-ой Международной научно-практической конференции «Продовольственный рынок и проблемы здорового питания» (г. Орел, 1999 г.); на Всероссийской научно-технической конференции «Прогрессивные технологии и оборудование пищевых производств» (СПб., 1999 г.).
Публикации: по теме диссертации опубликовано 5 печатных работ.
Структура и объем диссертации. Диссертационная работа состоит из введения, шести глав, выводов, списка литературы и приложений. Работа изложена
на 150 страницах машинописного текста, содержит 65 рисунков, 28 таблиц, список литературы из 164 наименований, приложения на 13 страницах.
Автор выражает благодарность кандидату технических наук Ульянову Н.Б. за ценные замечания и плодотворное сотрудничество.
Существующие технологии и процессы очистки сточных вод и их аппаратурное оформление
Для очистки сточных вод пищевых предприятий известно использование механических (отстаивание, центробежное разделение, фильтрование), биологических (аэробная и анаэробная очистка), физико-химических (флотация, реа-гентная обработка, электро- и гальванокоагуляция, барометрическое разделение, сорбция) и химических (окисление озоном или хлором) методов очистки [149, 156, 162].
Поскольку в составе сточных вод загрязняющие вещества присутствуют во всех видах фазово-дисперсного состояния, то на практике схемы очистки сточных вод строятся по общему принципу поэтапного изъятия загрязнений по размерам их частиц [74]. Как правило, на первом этапе очистки из сточных вод выделяют грубодисперсные примеси, чаще всего отстаиванием или флотацией, а также осаждением в центробежном поле. С помощью этих способов из сточных вод удаляют обычно примеси крупностью 5-10 мкм и более.
Удаление более мелких частиц производится путем их предварительной агрегации в крупные, легко отделяемые от воды частицы. Это достигается при помощи реагентной обработки воды коагулянтами или флокулянтами, а также электрокоагуляцией. При биологической очистке значительная часть загрязняющих веществ превращается в биомассу микроорганизмов и в продукты их дыхания. Избыток биомассы в виде активного ила или биопленки выделяется седиментацией или флотацией. Для доочистки сточных вод, например при их выпуске в поверхностные водоемы, используется фильтрование, сорбция, мембранные методы и окисление.
В существующих технологиях очистки сточных вод используются различные сочетания указанных методов очистки. Это обусловлено в первую очередь сложным, индивидуальным составом сточных вод, когда присутствие (отсутствие) даже одного ингредиента может изменить поведение всей системы загрязнений при очистке, а также условиями образования сточных вод и их расходом в течение суток, конкретной привязкой очистных сооружений и условиями их эксплуатации.
Учитывая природу и состав загрязнений в сточных водах хлебопекарных предприятий, следует признать, что их аналогом являются сточные воды предприятий молочной и масложировой промышленности. В этих отраслях наработаны технологии очистки сточных вод и на этот опыт будет обращено внимание при анализе.1.2.1. Отстаивание, как первая стадия процесса очистки, применяется почти во всех схемах очистки высококонцентрированных сточных вод в виде отстойников разных типов и жироловушек. В работе [65] указывается, что в отстойниках наиболее совершенных конструкций содержание в очищенной воде взвешенных и жировых веществ снижается обычно до 320-380 мг/л по взвешенным веществам и до 120-180 мг/л по жирам.
Отстойники или жироловушки существуют на всех предприятиях масло-жировой промышленности. Эффект очистки по жировым веществам на жиро-ловушках составляет 40-50 % [50]. Выпадение взвесей происходит при полуторачасовом отстаивании, а всплывание жировых частиц происходит в более короткий срок (0,3-0,5 ч) [95].
Значительные резервы способа отстаивания заключены в использовании принципа тонкослойного отстаивания, а также в повышении равномерности распределения и сбора очищенной воды.
В работе [125] описано применение двухступенчатой жироловушки с тонкослойными блоками на очистке сточных вод масложиркомбината. В зависимости от начальной концентрации общий эффект жироулавливания составил 83-96 %. Предсказать эффективность отстаивания невозможно. Поэтому перед проектированием сооружений и аппаратов механической очистки должно проводиться экспериментальное отстаивание сточной воды в статических условиях с получением кривых кинетики отстаивания [108].
Несомненным достоинством сооружений гравитационного отстаивания является простота конструкций и надежность в эксплуатации, а также то, что улавливаемые вещества не претерпевают физико-химических превращений.1.2.2. Для очистки жиросодержащих сточных вод широко используется пенная флотация. Наряду с отстаиванием этот способ очистки применяется как на стадии предварительной очистки, так и для отделения от воды преобразованных в процессах очистки загрязнений. Поэтому представляется необходимым подробнее осветить основные закономерности этого процесса. Наглядная сторона процесса флотации весьма проста. Частицы загрязнений извлекаются из очищаемой воды при прилипании к пузырькам газа, которые тем или иным способом вводятся в жидкость. Пузырьки газа вместе с частицами всплывают на поверхность жидкости, образуют слой пены, который постоянно удаляется. Движущей силой процесса является стремление системы газ - жидкость - частица к минимуму свободной энергии на границе раздела фаз [92]. Механизм же флотационной очистки весьма сложен. Для успешного ведения процесса флотации необходимы следующие условия: гидрофобность поверхности извлекаемых частиц; захват пузырьками газа частиц; не допущение отрыва частицы от пузырька при всплывании флотокомплекса. Гидрофобность поверхности определяется физико-химическими свойствами частиц и характеризуется краевым углом смачивания. В работе [92] указывается, что при возможной продолжительности контакта между пузырьком и минеральной частицей в пределах (1-150)-10-4 с акт флотации возможен только на поверхности, характеризуемой краевым углом выше 50.
Контакт между пузырьком и частицей происходит при их относительном движении в жидкости, и на него влияют следующие факторы: размер и форма частицы и пузырька; гидродинамический режим всплывания пузырька (числа Рейнольдса), степень заторможенности его поверхности адсорбционным слоем ПАВ, материал частицы, электрические потенциалы частицы и пузырька [40].
Количественный характеристикой кинетики элементарного акта флотации служит общепринятый параметр - эффективность захвата (Е), который описывает процесс сближения частиц с поверхностью пузырька количественно на основе представления об эффективности столкновения [40]
Методические положения исследования процессов физико-химической очистки
Разнообразный и изменяющийся в соответствии с конкретным дневным заказом ассортимент продукции кондитерского производства предопределяет изменения компонентного состава и свойств его сточных вод. Поэтому исследования проводились путем моделирования.
Работы проводились в две стадии: лабораторные исследования на технологических моделях аппаратов очистки с целью изучения основных кинетических характеристик исследуемых процессов в максимально широких диапазонах определяющих их параметров;производственные исследования на промышленных образцах разработанных аппаратов на режимах работы, соответствующих оптимальным значениям, выявленным лабораторными исследованиями.
Технологическое моделирование процессов очистки сточных вод, как правило, проводится с соблюдением следующих основных условий [52]:обеспечения максимальной идентичности состава загрязнений воды в реальном стоке и в модельном растворе;идентичности температурного режима и равной продолжительности процессов на натуре и в модели;одинакового технологического режимов работы модели и натуры;одинакового или подобного гидродинамического режимов работы модели и натуры.
Обеспечение идентичности состава модельного раствора реальным сточным водам является основой успешного моделирования. Производственные сточные воды кондитерского производства - это мытьевые воды, которые могут быть загрязнены только исходным сырьем, полуфабрикатами, конечной продукцией, а также моющими средствами.
В производственном цикле исходные сырьевые компоненты или полуфабрикаты смешиваются между собой, некоторая часть подвергается умеренной тепловой обработке (получение выпечного полуфабриката). При этом существенных физико-химических превращений веществ и химических реакций между ними не происходит. Поэтому химический состав готовой продукции (равно как и полуфабрикатов) может быть рассчитан по химическому составу исходных продуктов, соответственно и химический состав загрязнений сточных вод кондитерского производства также может быть определен аналогичным обра зом. Однако для этого требуется знание (или обоснованная оценка) возможных долевых частей компонентов сырья, полуфабрикатов или готовой продукции, поступающих в воду. Очевидно, что не все вещества, обращающиеся в кондитерском производстве, могут в равной степени попадать в сточные воды. В основном это те, которые обладают липкостью и задерживаются на поверхностях противней, стенках емкостей и кондитерском инвентаре. При мойке эти вещества переходят в сточные воды.
Производство кондитерских изделий на хлебозаводе четко делится на две стадии: выпечка тестосодержащей основы (выпечного полуфабриката) и нанесение на нее отделочного полуфабриката. Количество выпечки, остающейся на выпечных формах и противнях, незначительно. Остатки счищаются с поверхностей механическим путем без использования воды. Сухие сыпучие вещества собираются и утилизируются внутри производства для изготовления низкосортных изделий.
Для отделочного полуфабриката ситуация иная. Во-первых, его приготовление связано с процессами перемешивания и взбивания в баках маслодела-тельных и кремосбивальных машин и последующей переливкой в более мелкие внутрицеховые емкости (банки, бидоны), причем все отделочные массы липкие. На стенках емкостей перед мойкой остаются слои толщиной до 10 мм, а емкости по санитарным правилам промываются после каждого опорожнения.
Во-вторых, отделочный полуфабрикат наносится на наружную поверхность продукции (или в виде тонких слоев между слоями выпечки) и поэтому при движении заготовок внутри производства контактирует со всеми листами и поддонами, на которые кладется. Листы и поддоны также моются после каждого использования.
Все вышеизложенное позволяет предположить, что в основном сточные воды загрязняются отделочными полуфабрикатами и, если массовое соотношение между отделочными и выпечными полуфабрикатами в готовой продукции составляет 40 : 60, то в сточных водах оно, по-видимому будет иным.
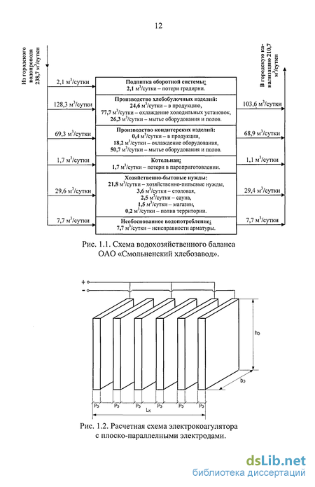
Значительные загрязнения вносятся в сточные воды с моющими средствами. Среднесуточный расход моющих средств, рассчитанный по имеющимся данным по их потреблению (табл. Приложения), и объему выпущенной в кондитерском производстве продукции (733,5 т за 11 мес. 2000 г.), составляет 18 кг/сут, а их удельный расход на тонну готовой продукции равен 6,9 кг/т. Свыше 92 % от общего количества приходится на долю CMC «Ультра». Химический состав этого средства, взятый по данным производителя, приведен в табл. 2.1. Минимальное количество сточных вод, образующихся в кондитер-ском производстве, составляет 12 м /сут. Таким образом, максимальное среднесуточное содержание моющих средств в сточных водах может быть оценено величиной 1500 г/м3.
Обсуждение состава и поведения примесей сточных вод в процессах очистки
Предлагаемое обсуждение касается тонкодисперсной, коллоидной и растворенной фазы загрязнений. Можно указать следующие группы веществ, образующих высокодисперсные загрязнения. Это твердые частички, жировые и белковые вещества, углеводы и синтетические моющие средства.
Твердые частички, находящиеся в воде, представляют собой остатки не-растворенных в воде компонентов отделочных и выпечных полуфабрикатов. В первую очередь это частицы мучнистой группы и остатки орехов.
Малые размеры частиц обусловлены механическими воздействиями в процессе их удаления с загрязненных поверхностей при мойке. В силу малых размеров и развитой рыхлой поверхности (для мучнистых частиц) они лиофильны. А в силу природы веществ, из которых состоят, они адсорбируют на своей поверхности ионы, придающие частицам отрицательный заряд в воде. За счет этого они окружаются в воде защитными гидратными оболочками и ведут себя как истинные коллоиды. Удаление таких частиц из воды возможно только путем коагуляции или сорбции. Очистка воды от твердых частичек затрудняется в присутствии других загрязняющих воду веществ. Взаимодействие твердых частичек с ними освещено ниже.
Жировые вещества поступают в сточную воду в составе молока, сливочного масла, маргарина, яиц, муки, какао и фруктов. В сточных водах усредненного состава содержится масляного жира - 68 %; молочного жира - 2 %; гидроге-незированного растительного масла - 22 %; жиров желтка яиц - 6 % и натуральных растительных жиров - 2 %.
Масляный и молочный жиры имеют одно происхождение и одинаковый состав. Плотность молочного жира 931 кг/м . Молочный жир полностью плавится при температуре 38 С. Поэтому в сточных водах кондитерского производства его жировая дисперсия представляет собой эмульсию.
Размеры жировых шариков молока колеблются в пределах менее 0,1 мкм и до 10 мкм. На долю мелких частиц приходится 80 % от общего числа жировых шариков и только 2 % общей массы. Наибольшую долю массы жира (94 %) формируют частицы диаметром 3-6 мкм. За счет диссоциации собственных функциональных групп на поверхности частиц возникает отрицательный электрический заряд. Жировые шарики в молоке и, по-видимому, в воде окружаются многослойной оболочкой, в состав которой входят оболочечный белок и фосфатиды. Существуют противоречивые модели строения этой оболочки [13, 138]. Но вместе с тем везде указывается на ее высокую стабилизирующую способность, пластичность и механическую прочность. Оболочка жирового шарика является, по существу, своеобразной третьей фазой жировой дисперсии молока, которая определяет ее агрегативную устойчивость. Нарушение устойчивости жировой фазы может быть достигнуто только путем полного или частичного разрушения нативной оболочки жирового шарика [13]. Изоэлектрическая точка жирового шарика с окружающей его оболочкой находится при рН 4,3.
Дестабилизация оболочек жировых шариков может быть вызвана механическим воздействием, тепловой обработкой и влиянием поверхностно-активных веществ. Деэмульгирующее действие анионных ПАВ объясняется их различной растворимостью в обеих фазах, что приводит к снижению поверхностного натяжения и десорбции оболочечных веществ. Перемешивание в общем случае способствует выделению жира. Вместе с тем, если жир находится в жидком состоянии, например при температуре 45 С, то при перемешивании или встряхивании происходит не агрегация, а диспергирование.
Еще одним способом дестабилизации оболочки является изменение рН среды. В работе [138] отмечено увеличение неустойчивости (до 50 %) жировой системы сливок при подкислении и подщелачивании плазмы сливок. Вместе с тем, нативные оболочки жировых шариков являлись стабильными и в области рН выше 8, и очевидно, не претерпевали структурной перестройки.
В натуральном молоке довольно быстро происходит отстаивание сливок. Это объясняется образованием конгломератов жировых шариков размерами свыше 400 мкм за счет адгезионной способности оболочечного белка-эвглобулина. Однако в переработанном молоке (сгущенном, пастеризованном, сухом), которое применяется в кондитерском производстве, белок денатурирован, и агрегация частиц не происходит [13]. Можно выделять жировые частицы такого молока путем введения коагулянтов и осуществлять коагуляцию без разрушения оболочки жировых частиц во втором энергетическом минимуме.
В сливочном масле только малая часть жира сосредоточена в шариках молочного жира с ненарушенной оболочкой. Подавляющая масса жира представляет собой однородную структурированную массу - жидкий жир с равномерно распределенными в нем капельками влаги, кристаллами жира, частицами белка и мелкими газовыми пузырьками [138].
При диспергировании масла в воду в процессах мойки первоначально, по-видимому, образуется грубая эмульсия, так как масляные зерна при сбивании масла имеют большие размеры (2-6 мм). Большая часть масла может быть выделена отстаиванием или флотацией, чему способствует и меньшая по сравнению с водой плотность масла. Присутствие в сточных водах эмульгаторов (ПАВ, белков, полисахаридов) способствуют более глубокому диспергированию частиц масла в воде. Частицы, а точнее капли масла (tnn = 38 С), в силусвоего молекулярного строения приобретают в воде отрицательный поверхностный заряд и покрываются адсорбционно-сольватными оболочками из белков, ПАВ и воды. Устойчивость этих оболочек значительно уступает в прочности нативным оболочкам молочного жира.
Растительные масла также присутствуют в сточных водах в виде капелек (температура плавления самого тугоплавкого компонента - масла какао 34 С). Большая часть массы приходится на частицы диаметром 3-20 мкм. Поверхность гидрофобна. Для изоэлектрического состояния масел характерны значения рН, близкие к 5. Масла могут омыляться в щелочном растворе, при кипяче ний, но в какой-то степени такая реакция может происходить и в сточных водах кондитерского производства, которые при образовании имеют сильную щелочную среду и высокую температуру (50-60 С). Натриевые мыла вследствие ге-терополярной структуры молекул могут служить для гидрофобизации поверхности лиофильных твердых частиц, но в то же время являются депрессорами для аполярных масел [110].
Нагревание и механические воздействия не могут повлиять на устойчивость тонких масляных эмульсий. Наличие двойного электрического слоя вокруг масляных глобул является для них главным стабилизирующим фактором [130]. Структурно-механический барьер, образованный адсорбционными слоями молекул эмульгаторов и сольватно-гидратных оболочек по всей вероятности является вспомогательным стабилизирующим фактором.
Наиболее эффективным приемом разрушения эмульсий является их коагуляция электролитами. Разложение эмульсий с помощью электролитов, содержащих в молекуле многовалентный катион, заключается в нейтрализации поверхностных зарядов частиц эмульсии, а также в образовании коллоидного раствора гидроокиси металла, который разрушает защитный слой эмульгатора, сорбирует его и масло и выделяет из раствора совместно с собой при осаждении [110]. Катионы железа, например, прямо взаимодействуют с такими эмульгаторами, как натриевое мыло с образованием своего мыла, нерастворимого в воде, что освобождает масляные глобулы от гидратной оболочки. При избытке катионов металлов может происходить перезарядка коллоидных частиц и образование неустойчивой тончайшей структуры обратной эмульсии, не поддающейся флотационному разделению. Статическое отстаивание менее чувствительно к перерасходу реагента [110].
Повышение кислотности среды является благоприятным фактором для разрушения масляных эмульсий. Кислоты воздействуют на слой эмульгаторов, окружающих капельки масла. В кислой среде происходит денатурация оболо
Исследование по очистке сточных вод методом электрофлотации
Проведенный дисперсный анализ примесей сточных вод кондитерского производства выявил, что подавляющая часть частиц имеет размеры меньше 30 мкм, особенность флотации которых состоит, прежде всего, в низкой эффективности захвата их пузырьками газа. Для безреагентной флотации остается только всемерно уменьшать размеры газовых пузырей.
В работе [87] приведен график зависимости диаметров выделяющихся пузырьков водорода от кривизны поверхности катода. В соответствии с ним на проволочном катоде диаметром 0,25 мм выделяются пузырьки диаметром 30 -50 мкм.
Исследования флотации сточных вод проводились на макете электрофлотатора. Все опыты выполнялись при одинаковой продолжительности флотации \Тфл ) = 20 мин. Высота флотационного слоя при этом составляла 300-350 мм, аудельная производительность аппарата- 0,9-1,1 м /(м -ч).
Опыты по исследованию флотации сточных вод кондитерского производства проводили на предварительно отстоянном в течение часа модельном растворе. В опытах изменяли величину рН среды и плотность тока (/фл J. На рис. 4.7 приведены зависимости эффектов очистки от этих параметров. Из рассмотрения графиков видно, что эффективность очистки по жирам выше, чем по взвешенным веществам. Без подкисления, то есть при рН = 10,4 эффект очистки ниже, чем в случае очистки подкисленной (рН = 3,0) воды, и до значений /фл 250 А/м2 практически не обнаруживается. Суммарный эффект очисткидостигает максимального значения 35 % при ь,л = 400 А/м2. С учетом того, чтоэффект отстаивания составляет 70 %, это означает повышение эффекта очистки всего на 10 % (в сумме - 80 %). При флотации подкисленной воды суммарный эффект очистки по жирам и взвешенным веществам достигает 63 % (в сумме с отстаиванием - 89 %).
Энергетические затраты, связанные с проведением процесса электрофлотации, оказались значительными. Так при плотности электрического тока, про-текающего через электродную систему 250 А/м , удельная электрическая мощ-ность достигала 2,3 кВт-ч/м , а при /фл = 400 А/м ее величина составила уже6 кВт-ч на 1 м очищаемой воды.
Увеличение эффекта очистки с ростом плотности тока обусловлено ростом числа газовых пузырьков, выделяющихся на электродах и участвующих в процессе флотации. Так расчетное газонасыщение жидкости водородом увеличивается с 1,2 до 3,9 % при повышении значений /фл от 125 до 400 А/м2. Интенсивное газовыделение вызывает турбулизацию жидкости. Возникающие турбу лентные потоки в жидкости с одной стороны препятствуют закреплению частиц на пузырьках, но с другой стороны, по-видимому, способствуют утонь шению или частичному вытеснению гидратных и белковых оболочек с поверхности жировых и взвешенных частиц, тем самым, повышая их гидрофобность и делая поверхность частиц доступной для взаимодействия с газовым пузырьком. При флотации гидрофильных частиц (как в данном случае) эта вторая сторона процесса является решающей. Также возможно, что, благодаря возникновению прижимных гидродинамических сил, преодолевается энергетический барьер отталкивания и структурно-механический барьер, образованный адсорбционно-сольватными слоями ПАВ на межфазовой границе, препятствующие слиянию частиц с пузырьками.
В случае подкисления сточной воды соляной кислотой эффективность флотационного выделения частиц, в особенности жировых, возрастает. Изменение значения рН воды вследствие добавления НС1 вызывает дестабилизацию системы (кислотная коагуляция), что объясняется электрическими свойствами стабилизаторов эмульсии - белков, изоэлектрическая точка которых лежит при рН = 5,2. В условиях, близких к изоэлектрическому состоянию, при котором стабильность системы минимальна, перемешивание воды газовыми пузырьками приводит к появлению более крупных агрегатов дисперсной фазы и более полному их удалению. Снижение рН обусловливает и более полное флотационное выделение ПАВ [136].
Рост эффекта очистки сточных вод при повышении интенсивности газовыделения в присутствии неорганического электролита (НС1) указывает на возможность применения метода пневмосепарации, описанного в работе [72], хотя последнее нуждается в экспериментальной проверке. 1. При проведении сравнительных исследований по очистке сточных вод кондитерского производства методами отстаивания и электрофлотации установлено следующее: при простом отстаивании сточных вод продолжительностью 1,5 ч в реальном сооружении можно достичь гарантированного общего эффекта очистки (по жирам и взвешенным веществам) на уровне 70 %; при применении электрофлотации продолжительностью обработки 20 мин, при плотности тока 400 А/м и расходом электроэнергии 6 кВт/м общий эффект очистки достигает 80 %.2. Учитывая сложность устройства флотационных установок, значительные расходы, связанные с их приобретением и эксплуатацией, и сопоставимые с отстаиванием результаты очистки, для предварительной очистки сточных вод кондитерского производства целесообразно применять отстаивание.3. В результате отстаивания получены данные по кинетике отстаивания сточных вод кондитерского производства и по динамике изменения их дисперсного состава. Определены значения показателя степени агломерации механических примесей в процессе отстаивания.4. Установлено, что ввиду протекания процессов агломерации частиц не только схожей, но и существенно разной плотности, отстаивание с увеличением высоты слоя жидкости замедляется. Поэтому отстаивание следует проводить преимущественно при небольших или малых (в тонких слоях) высотах.






















