Содержание к диссертации
Введение
Глава 1. СОСТОЯНИЕ ВОПРОСА И ЗАДАЧИ ИССЛЕДОВАНИЯ... 8
1.1. Конструкции мокрых электрофильтров и их недостатки 11
1.2. Использование неметаллических материалов в мокрых элекрофильтрах 19
1.3. Мокрые электрофильтры с узлами из полимерного композиционного материала 21
1А Система управления электрофильтрами 27
Глава 2. ИССЛЕДОВАНИЕ КОРОНИРУЮЩИХ ЭЛЕКТРОДОВ 35
2.1 .Введение 35
2.2. Электродные системы 36
2.3.Экспериментальная установка 39
2.4.Результаты экспериментов 43
2.5.Электрические поля систем электродов 51
2.6.Выводы 59
Глава 3. ИССЛЕДОВАНИЕ ПРОМЫШЛЕННЫХ ПОЛИМЕРНЫХ ЭЛЕКТРОФИЛЬТРОВ 61
3.1 .Введение 61
3.2. Анализ работы электрофильтров при высокой концентрации дисперсной фазы 61
3.3.Технология очистки газа от капель тумана серной кислоты 68
3 1.Промышленный полимерный электрофильтр 71
3.5.Определение дисперсности капель тумана серной кислоты 76
3.6.Результаты исследования полимерного электрофильтра на Череповецком ОАО «Аммофос» 82
3.7.Расчет степени очистки газа в полимерном электрофильтре с учетом влияния дисперсной фазы 84
3.8.Внедрение полимерных электрофильтров 93
3.9.Выводы 95
Глава 4. УСОВЕРШЕНСТВОВАНИЕ СИСТЕМЫ РЕГУЛИРОВАНИЯ НАПРЯЖЕНИЯ НА ЭЛЕКТРОФИЛЬТРАХ 98
4.1 .Введение 98
4.2.Современные схемы агрегатов питания 99
4.3.Системы управления агрегатами питания 101
4.4.Новый принцип регулирования напряжения на электрофильтрах 106
4.5.Исследования работы полимерного электрофильтра с регулятором «Искра» 111
4.6.Сравнительный анализ различных систем регулирования напряжения на электрофильтрах 117
4.7.Выводы 127
ОБЩИЕ ВЫВОДЫ 128
ЛИТЕРАТУРА 130
- Конструкции мокрых электрофильтров и их недостатки
- Электродные системы
- Анализ работы электрофильтров при высокой концентрации дисперсной фазы
Введение к работе
Актуальность работы. Проблемы экологии и, в частности, защиты от аспирационных выбросов и защита атмосферного воздуха является одной из важнейших проблем современности, от решения которой в значительной степени зависит судьба человечества.
Значительная доля выбросов в атмосферу падает на взвешенные твердые и жидкие частицы, которые в некоторых промышленно развитых регионах России превышают принятые нормы в 10 и более раз, например, регион, г. Череповца. Согласно государственному докладу «О состоянии окружающей среды Российской Федерации» 1997 г. [1] содержание взвешенных веществ в атмосфере превышало предельно допустимые концентрации /ПДВ/ в 71 городе России.
Отсюда вытекают важные задачи по повышению эффективности работы аппаратов, предназначенных для улавливания взвешенных в газовых потоках капель туманов - туманоуловителей.
Помимо защиты окружающей среды очистка промышленных и аспирационных газов от содержащихся в них жидких взвешенных частиц необходима в ряде технологических процессах для извлечения из газов ценных продуктов; примесей, затрудняющих проведение технологического процесса; уменьшения износа оборудования; улучшения условий труда. К таким технологическим процессам относится производство серной кислоты, где необходимо очищать газ от капель тумана кислоты.
Очистка промышленных газов и аспирационного воздуха от высокодисперсных твердых и жидких частиц является наиболее сложной проблемой в науке и технике газоочистки. [2,3,4]
Настоящая работа посвящена интенсификации работы однозонных трубчатых мокрых электрофильтров, которые широко применяются для улавливания высокодисперсных частиц, в т.ч. капель тумана. Как показали
5 результаты испытания таких электрофильтров, они не обеспечивают
требуемую степень очистки газа [5,6,7].
Цель работы. Интенсификация работы мокрых электрофильтров для улавливания высокодисперсных капель тумана.
Для достижения указанной цели решались следующие задачи:
разработка полимерных зубчатых коронирующих электродов с рациональным шагом между зубьями;
повышение эффективности работы трубчатого полимерного электрофильтра при улавливании высокодисперсных капель тумана;
усовершенствование методики расчета степени очистки газа в электрофильтре с учетом влияния дисперсной фазы при улавливании высокодисперсных частиц;
усовершенствование системы регулирования напряжения на электрофильтрах.
Научная новизна.
1. Разработаны и доказаны два способа интенсификации работы
мокрых электрофильтров:
а) путем использования зубчатых полимерных коронирующих электродов
с рациональными геометрическими размерами, позволяющими резко
увеличить ток коронного разряда и зависимые от этого другие электрические
характеристики;
б) путем автоматического регулирования напряжения в электрофильтрах
по максимальной величине произведения среднего напряжения на
амплитудное напряжение.
2. Определены зависимости степени очистки газа и уноса
высокодисперсных капель тумана из полимерного промышленного
электрофильтра с рациональными размерами коронирующих электродов от
скорости газового потока, от напряжения, тока и мощности коронного разряда.
3. Усовершенствована и экспериментально подтверждена методика расчета степени очистки газа в электрофильтре с учетом влияния дисперсной фазы при улавливании высоко дисперсных частиц.
Практическая значимость работы.
Разработаны полимерные зубчатые коронирующие электроды с рациональными геометрическими размерами с повышенными токами коронного разряда, которые резко интенсифицируют степень очистки газа по сравнению с широко используемыми в промышленных электрофильтрах традиционными электродами.
Подтверждена эффективность работы полимерных электрофильтров для улавливания капель тумана на различных промышленных предприятиях.
Результаты исследования являются надежной научно-технической основой для расчета и проектирования систем аспирации, технологической и санитарной очистки промышленных газов, систем вентиляции от высокодисперсных частиц.
Предложен способ регулирования напряжения в электрофильтре, который позволяет увеличить степень очистки газа по сравнению с применяемыми.
На защиту выносятся:
1. Обоснование экспериментальное и теоретическое преимуществ полимерных зубчатых коронирующих электродов с рациональными геометрическими размерами по сравнению с традиционными электродами в увеличении токов коронного разряда, напряженности электрического поля в межэлектродном промежутке и в интенсификации эффективности работы электрофильтра при улавливании высоко дисперсных капель тумана.
2. Обоснование разработанной методики расчета степени очистки газа
в электрофильтре с учетом влияния дисперсной фазы при улавливании высокодисперсных частиц.
3. Обоснование предложенного способа регулирования напряжения в
электрофильтре с учетом процессов зарядки и движения частиц.
Апробация работы. Основные положения и результаты диссертации докладывались и обсуждались на научно-технических конференциях «Проблемы экополиса» /Испания, г.Барселона 28.03 - 05.04.1998 г./; «Экология городов» /Греция, о. Родос, 8-12 июня 1998 г./; на научно-технической конференции в МГУИЭ /г.Москва, январь 1999г./; на международной практической конференции «Экология энергетики» - 2000 /Москва, МЭИ, 18-20 октября 2000г./, на научно-технических конференциях ВГАСУ /Воронеж, 2000-2002гг./
Публикации. По материалам диссертационной работы опубликовано 6 научных работ общим объемом 16 стр., из них лично автору принадлежит 12 стр.
Объем и структура диссертации. Диссертация состоит из введения, четырех глав, основных выводов и списка литературы из 77 наименований. Диссертация изложена на 136 страницах машинописного текста и содержит 41 рисунок и 14 таблиц.
Выражаю большую благодарность научному руководителю д.т.н. Мошкину Александру Александровичу, научному консультанту, профессору МЭИ Верещагину Игорю Петровичу, а также сотрудникам НИИОГАЗа за оказанную помощь.
Конструкции мокрых электрофильтров и их недостатки
По конструкции осадительных электродов мокрые ЭФ бывают трубчатые и пластинчатые. Для рациональной компоновки аппарата часто используют осадительные электроды шестигранной формы в виде пчелинных сот. Такие электроды имеют значительные преимущества по сравнению с пластинчатыми: отсутствуют неактивные зоны , через которые может проходить недостаточно очищенный газ, имеют более интенсивное электрическое поле в межэлектродном промежутке и меньшую материалоемкость.
Коронирующие электроды в мокрых ЭФ чаще всего выполнены из освинцованной стальной проволоки в виде звездочки или ромба, ферросилидовых звеньев, имеющих форму звездочки [12,14].
Формы осадительных и коронирующих электродов мокрых ЭФ приведены на рис. 1.3 и на рис. 1.4.
Наиболее часто в мокрых ЭФ используются осадительные электроды в виде трубы и шестигранника.
В 70-80 годы прошлого столетия был создан ряд конструкций промышленных мокрых ЭФ, футерованных изнутри кислотоупорными материалами, с внутренним оборудованием из свинца, кремнистого чугуна, освинцованной стали, спецсталей. Промышленностью выпускались несколько типов вертикальных, однопольных мокрых ЭФ [15,21], основные технические характеристики которых приведены в табл .1.1.
Представленные в таблице ЭФ имеют ряд недостатков, которые связаны с применением указанных конструкционных материалов:
- невозможность индустриального изготовления аппаратов, практически все они монтируются на промышленной площадке заказчика;
- применение во время монтажа тяжелых ручных работ, в т.ч. вредных для здоровья людей свинцово-паяльных работ;
- недостаточная надежность узлов аппаратов, особенно выполненных из освинцованной стали, из-за проникновения кислоты в местах пайки;
- небольшой срок службы освинцованного внутреннего оборудования: арматура из свинца заменяется через 3,5-5 лет. Срок службы коронирующих электродов из стали ЭИ-943 не более одного года;
- малоинтенсивные коронирующие электроды с пониженными значениями тока короны, что снижает эффективность работы ЭФ.
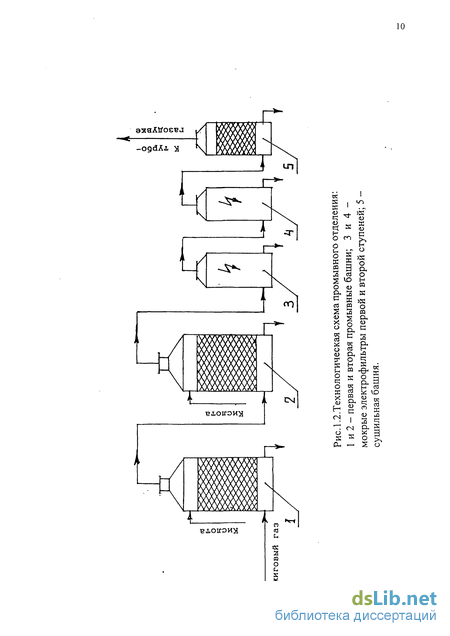
С целью выявления причин недостаточной эффективности работы ЭФ типа ШМК в промывном отделении контактного производства серной кислоты на Череповецком ОАО ""Аммофос" в 1997г. АО "НИИОГАЗ" провело детальное исследование мокрой газоочистной установки [5].
Технологическая схема этого промывного отделения приведена на рис. 1.2. На Череповецком ОАО "Аммофос" функционируют пять подобных систем. На первой и третьей технологических системах установлено по три ЭФ типа ШМК-9,6 в каждой из ступени, на четвертой и пятой - по два ЭФ типа ШМК-14,6 в каждой ступени [5]. В 24 из 26 ЭФ осадительные электроды реконструированы и выполнены из эбонита, а в двух ЭФ остались из свинца. Коронирующие электроды в реконструированных ЭФ представляют собой освинцованную стальную проволоку в виде ромба с насечкой ребер для интенсификации токов короны.
Из данных табл. 1.2 следует, что эффективность улавливания капель тумана серной кислоты в значительной мере зависит от токов короны в ЭФ. Так, при практически одинаковых технологических параметрах и напряжениях в ЭФ второй ступени удельные токи короны на единицу длины коронирующего электрода в ЭФ первой системы составили 0,31 мА/м, а в третьей системе - 0,06 мА/м. При этом среднее значение остаточной концентрации капель тумана серной кислоты после ЭФ в первой системе составило 5 мг/м /проектный показатель/, а в третьей системе - 76 мг/м .
Во время исследований с помощью импактора [16] определены размеры капель тумана серной кислоты. Установлено, что медианный диаметр капель на входе ЭФ второй ступени третьей системы равен 1,3 мкм, а на первой системе - 1,8 мкм, т.е. здесь капли оказались в 1,4 раза крупнее.
Очевидно, этим и объясняются пониженные токи короны в ЭФ третьей системы по сравнению с первой, так как при относительно одинаковом массовом содержании капель тумана на входе ЭФ второй ступени число капель на третьей системе в 2,6-2,7 раза превышает их число на первой системе.
Известно, что высокодисперсные частицы приводят к запиранию тока короны и снижению эффективности работы ЭФ [22].
Электродные системы
В качестве базовой использовалась промышленная система электродов мокрого ЭФ: шестигранный осадительный электрод и коронирующий электрод типа звездочка, Осадительный электрод выполнен из полимерных пластин и имеет вписанную окружность с радиусом Явп = 125 мм и описанную окружность с радиусом Ron =145 мм /рис. 2.1/, Коронирующий электрод типа звездочка /тип 1/ представляет собой освинцованный стальной провод /рис.2.2/.
Для определения рациональных геометрических размеров полимерных зубчатых коронирующих электродов использовались следующие типы электродов /рис. 2,2/: тип 2-е шагом между зубьями 1 ш = 20 мм; тип 3 - с 1 ш = 40 мм; тип 4 - с 1 ш = 80 мм; тип 5 - с 1 ш = 120 мм.
Эти коронирующие электроды выполнены из отдельных полимерных трубчатых элементов, которые монтируются на прочном освинцованном стальном проводе или на освинцованном стальном профиле прямоугольного сечения. Каждый полимерный элемент имеет шесть зубьев с высотой 15 мм, расположенных равномерно по окружности диаметром 27 мм /рис, 2.2/, Геометрические размеры трубчатой части элемента выбраны по конструктивным соображениям.
Для всех типов коронирующих электродов длина осадительного электрода составляла 0,8 м. При этом зубья полимерных коронирующих электродов ориентированы перпендикулярно пластинам осадительного электрода / рис. 2.1/.
Экспериментальная установка состояла из испытательного стенда и высоковольтного источника. Испытательный стенд представляет собой прямоугольную стальную камеру размером 3,6x0,8x2,5 м, внутри которой размещались исследуемые электроды. Для удаления продуктов коронного разряда в верхней стенке камеры установлены короба принудительно-вытяжной вентиляции. В боковых дверях и в верхней стенке камеры имеются застекленные иллюминаторы для визуального наблюдения за коронным разрядом. Двери камеры оборудованы защитными блокировочными контактами.
Внутри камеры устанавливались шестигранный полимерный осадительный электрод и различные типы коронирующих электродов /рис2.3/. Осадительный электрод заземлялся, а коронирующий электрод крепился к высоковольтным изоляторам. Напряжение от высоковольтного источника к коронирующему электроду подводилось с помощью специального кабеля.
Принципиальная схема высоковольтного источника приведена на рис. 2.4. Номинальное значение выпрямленного напряжения на высоковольтном выводе источника /до защитного сопротивления/ составляет 80 кВ, а среднее значение выпрямленного тока - 200 мА.
Высоковольтный источник имеет следующие основные узлы:
1. Пульт управления, на котором размещены кнопки управления и вольтметр для контроля напряжения в первичной цепи высоковольтного трансформатора;
2. Повышающий трансформатор Т; 3. Выпрямитель В, собранный на диодах по схеме двухполупериодного выпрямления;
4. Конденсатор Сф емкостью 0.1 мкФ для сглаживания пульсаций выпрямленного напряжения;
5. Защитное сопротивление Яз = 164 кОм для ограничения тока короткого замыкания при пробое исследуемой системы электродов;
6. Добавочное сопротивление Кд= 125 МОм в цепи микроамперметра для измерения высокого напряжения, подаваемого на стенд;
7. Газовые разрядники ГР для защиты измерительных приборов.
Для измерения распределения токов короны по поверхности шестигранного осадительного электрода разработана специальная мозаика, которая крепилась к внутренней поверхности электрода /рис. 2. 3/.
Мозаика состоит из 22 прямоугольных пластин шириной 7 мм и длиной 125 мм. Каждая пластина имеет активную поверхность 8,8 см и изолирована относительно осадительного электрода. Для изготовления мозаики использован гетинаксовый металлизированный лист с нарезкой по фольге зазоров шириной 0,5 мм.
Распределение токов короны по всем пластинам измерялось одним микроамперметром. Для этого использовалась специальная панель, с которой проводами соединялись 22 пластины мозаики. В нормальном положении все пластины на панели были заземлены , а на время измерения тока короны к соответствующей пластине присоединялся микроамперметр /рис.2.3/.
С целью определения рационального шага между зубъями полимерных коронирующих электродов для достижения максимальных токовых характеристик на экспериментальной установке:
1. Измерены вольтамперные характеристики различных типов коронирующих электродов с шестигранным полимерным осадительным электродом промышленного типа;
2. Определено распределение токов короны по поверхности полимерного осадительного электрода для исследуемых зубчатых коронирующих электродов.
Измерены электрические характеристики широко распространенных освинцованных коронирующих электродов типа звездочка для сравнения их с характеристиками зубчатых полимерных электродов.
Анализ работы электрофильтров при высокой концентрации дисперсной фазы
При высокой концентрации частиц дисперсной фазы в работе электрофильтров /ЭФ/ проявляются существенные особенности.
Во-первых, меняются условия и характеристики коронного разряда и, во-вторых, как следствие изменяются условия зарядки и движения частиц. Из-за увеличения концентрации частиц их зарядка происходит при дефиците ионов. Кроме того, изменяется распределение напряженности поля, что непосредственно влияет на значение предельного заряда и скорость дрейфа частиц.
Полимерные ЭФ, позволяющие существенно увеличить ток коронного разряда за счет применения зубчатых коронирующих электродов, предоставляют возможность для существенного ограничения вредного влияния высокой концентрации дисперсной фазы. Сравнительные промышленные испытания существующих типов мокрых ЭФ и предлагаемых полимерных ЭФ позволяют выяснить возможности повышения степени очистки газов в сернокислотном производстве.
Очень важно пояснить результаты этих испытаний с позиций влияния дисперсной фазы, в том числе разработать соответствующую методику расчета степени очистки газов с учетом влияния дисперсной фазы.
Отличие условий, в которых существует коронный разряд при наличии дисперсной фазы в промежутке, заключается в том, что частицы заряжаются и, таким образом, суммарный объемный заряд состоит из заряда не только ионов, но и частиц. Суммарный объемный заряд сохраняется примерно на одном уровне, так как его значение, как и при отсутствии дисперсной фазы, определяется условием равенства напряженности у коронирующего электрода начальной напряженности. Обычно имеющее место некоторое изменение связано с изменением характера распределения суммарной плотности объемного заряда по промежутку.
Пояснить утверждение о неизменности суммарного объемного заряда в промежутке можно следующим образом.
В результате действия поля суммарного объемного заряда напряженность у коронирующего электрода уменьшается от высокого электростатического значения до величины начальной напряженности. Если суммарный объемный заряд возрастает, то возрастает и его ограничивающее действие и напряженность у коронирующего электрода станет ниже начальной. Как следствие, интенсивность ионизационных процессов уменьшится и это приведет к уменьшению суммарного объемного заряда в промежутке. Таким образом, стабильность объемного заряда обеспечивается как бы действием сильной обратной связи.
При высокой концентрации дисперсной фазы плотность объемного заряда частиц становится соизмеримой, а часто и превышает плотность объемного заряда ионов при сохранении суммарного значения на одном уровне.
























